EasyManua.ls Logo

Skyjack SJ9253 RT - Hydraulic; Wheel;Tire Assembly

Skyjack SJ9253 RT
120 pages
Print Icon
To Next Page IconTo Next Page
To Next Page IconTo Next Page
To Previous Page IconTo Previous Page
To Previous Page IconTo Previous Page
Loading...
37
SJ9233 RT, SJ9243 RT, SJ9253 RT 221491AAA
Visual and daily maintenance inspections Section 4 – Inspections Before Operation
1
2
4.2-3 Hydraulic
Do a check on these areas and make sure there are
no signs of leakage:
Hydraulic tank, gauge, filter, fittings, hoses
Engine compartment fittings, hoses, primary
pump, and filter
All hydraulic cylinders
All hydraulic manifolds
The ground area below the MEWP
Outriggers (optional equipment).
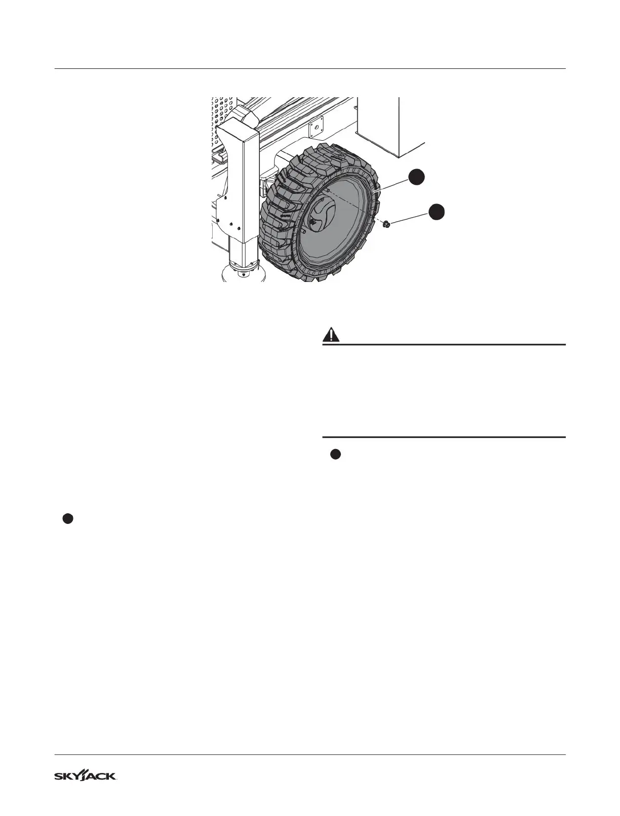
4.2-4 Wheel/tire assembly
Do the inspection that follows:
1
Wheel/tire assembly
Do a check on all the tire treads and sidewalls
for cuts, cracks, and unusual wear.
Do a check on each wheel for damage, and
cracked welds.
Make sure the wheels are correctly aligned
vertically and horizontally.
Make sure there are no loose or missing parts.
Make sure there is no visible damage.
WARNING
Do not use tires other than the tires that Skyjack
specifies for this MEWP. Do not mix different types
of tires or use tires that are not in good condition.
Only replace the tires with the same types that are
approved by Skyjack. The use of other tires can
make the MEWP less stable. If you do not obey,
there is a risk of death or serious injury.
2
Wheel nuts
Make sure the wheel nuts are installed and are
tight.

Table of Contents

Other manuals for Skyjack SJ9253 RT

Related product manuals