EasyManua.ls Logo

SMC Networks EX600-DX Series - Output Wiring and Circuit Diagrams

SMC Networks EX600-DX Series
61 pages
Print Icon
To Next Page IconTo Next Page
To Next Page IconTo Next Page
To Previous Page IconTo Previous Page
To Previous Page IconTo Previous Page
Loading...
-36-
No.EX##-OMN0036
Mounting and Installation
Wiring
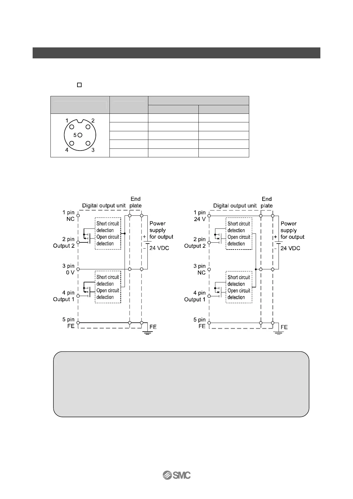
Connector pin assignment and circuit diagram
(1)EX600-DY B
•Connector pin assignment
Signal name
Configuration Pin number
EX600-DYPB EX600-DYNB
1 NC 24 V (Output)
2 Output 2 Output 2
3 0 V (Output) NC
4 Output 1 Output 1
5 FE FE
: An M12 connector (4 pin) can also be connected.
•Circuit diagram
•EX600-DYPB •EX600-DYNB
Precautions for handling
Be sure to fit a seal cap on any unused connectors. Proper use of the seal cap enables the
enclosure to achieve IP67 specification.
Note the following points when using the open circuit detection:
•This function detects open circuit only when the output is OFF. Therefore if output is turned
ON, open circuit can not be detected.
•Refer to the SI unit Operation Manual of protocol used for setting of the open circuit
detection.

Related product manuals