EasyManua.ls Logo

Sonniger GUARD - Page 27

Sonniger GUARD
172 pages
Print Icon
To Next Page IconTo Next Page
To Next Page IconTo Next Page
To Previous Page IconTo Previous Page
To Previous Page IconTo Previous Page
Loading...
Dokumentacja techniczno-ruchowa kurtyna standardowa GUARD v202301
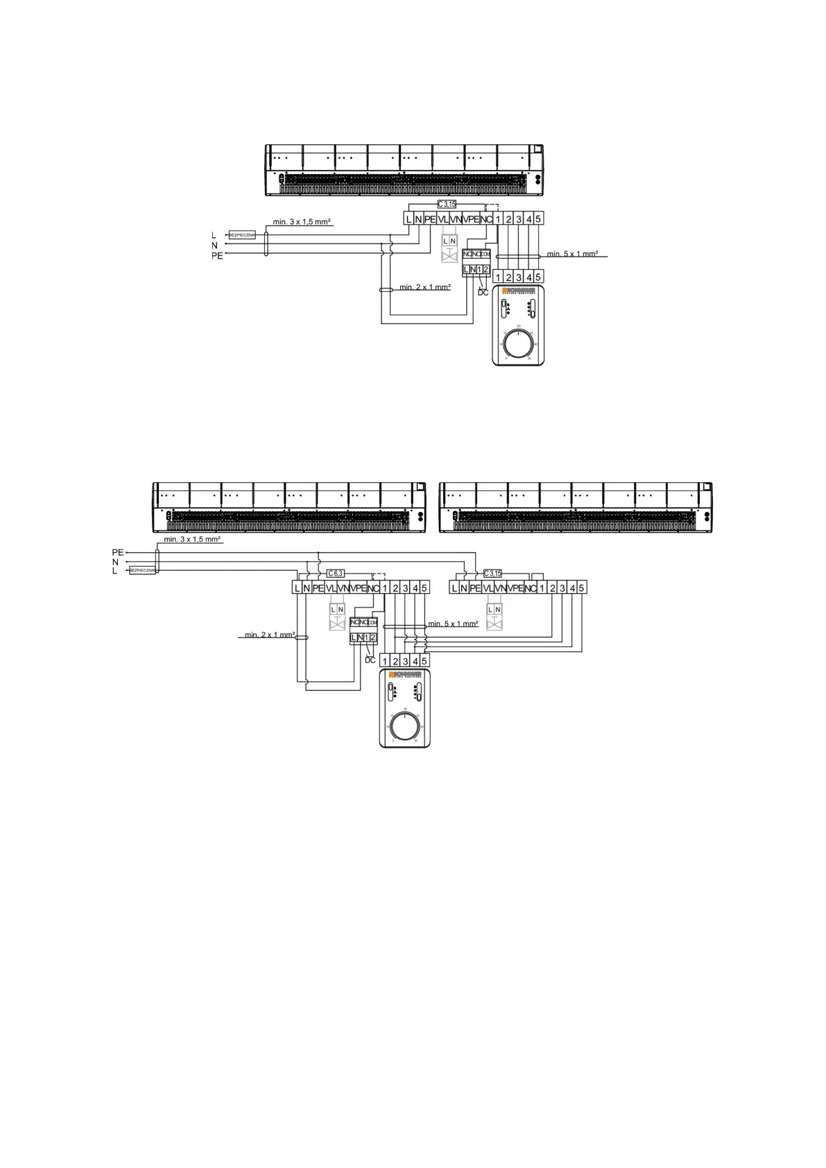
8.1
Schemat podłączenia jednej kurtyny GUARD 100-150-200 W (nagrzewnica wodną) i C (bez nagrzewnicy) do
panelu COMFORT NEW
*w skład zestawu nie wchodzą przewody elektryczne
W przypadku prac kurtyn bez wyłącznika drzwiowego zworę NC-1 należy zostawić w listwie.
8.2
Schemat podłączenia dwóch kurtyn GUARD 100-150-200 W (nagrzewnica wodną) i C (bez nagrzewnicy) do
jednego panelu COMFORT
*w skład zestawu nie wchodzą przewody elektryczne
W przypadku prac kurtyn bez wyłącznika drzwiowego zworę NC-1 należy zostawić w listwie.
W przypadku podpięcia dwóch kurtyn do jednego sterownika COMFORT NEW konieczna jest wymiana bezpiecznika w kurtynie 1
na C 6,3 oraz usunięcie zwory NC-1.