EasyManua.ls Logo

Sonniger GUARD - Page 93

Sonniger GUARD
172 pages
Print Icon
To Next Page IconTo Next Page
To Next Page IconTo Next Page
To Previous Page IconTo Previous Page
To Previous Page IconTo Previous Page
Loading...
Documentación de Operación y Mantenimiento de la Cortina Estándar GUARD v202301
CONEXIÓN DEL PANEL INTELLIGENT WIFI CON LA APLICACIÓN TUYA
1. Descarga la aplicación Tuya Smart (disponible en App Store y Play Store).
2. Conecte el panel de control a la fuente de alimentación y al dispositivo (el panel de control debe estar apagado).
3. Active la aplicación Tuya y siga las instrucciones.
4. Active Bluetooth y WiFi durante la conexión y luego active la aplicación Tuya.
5. Para conectarse en el panel INTELLIGENT, mantenga presionado el botón "+" durante 5 segundos hasta que
aparezca el comunicado SA en el lado izquierdo de la pantalla.
6. Seleccione "Agregar dispositivo". La aplicación debe detectar el controlador. Presione "Add" y después de completar
el proceso de configuración, presione "Siguiente" y "Terminado".
7. En ausencia de la opción "Add", seleccione la pestaña "Dispositivos pequeños" y la opción "Termostato (Wi-Fi)".
Luego ingrese los datos para conectarse a la red WiFi seleccionada y confirme. Después presione "Blink slowly"
(Parpadeo despacio).
8. Aparecerá una pantalla de información sobre la búsqueda de dispositivos. Después de detectar el controlador, el
proceso de conexión es automático. Después de completar el proceso de configuración, presione "Siguiente" y
"Terminado".
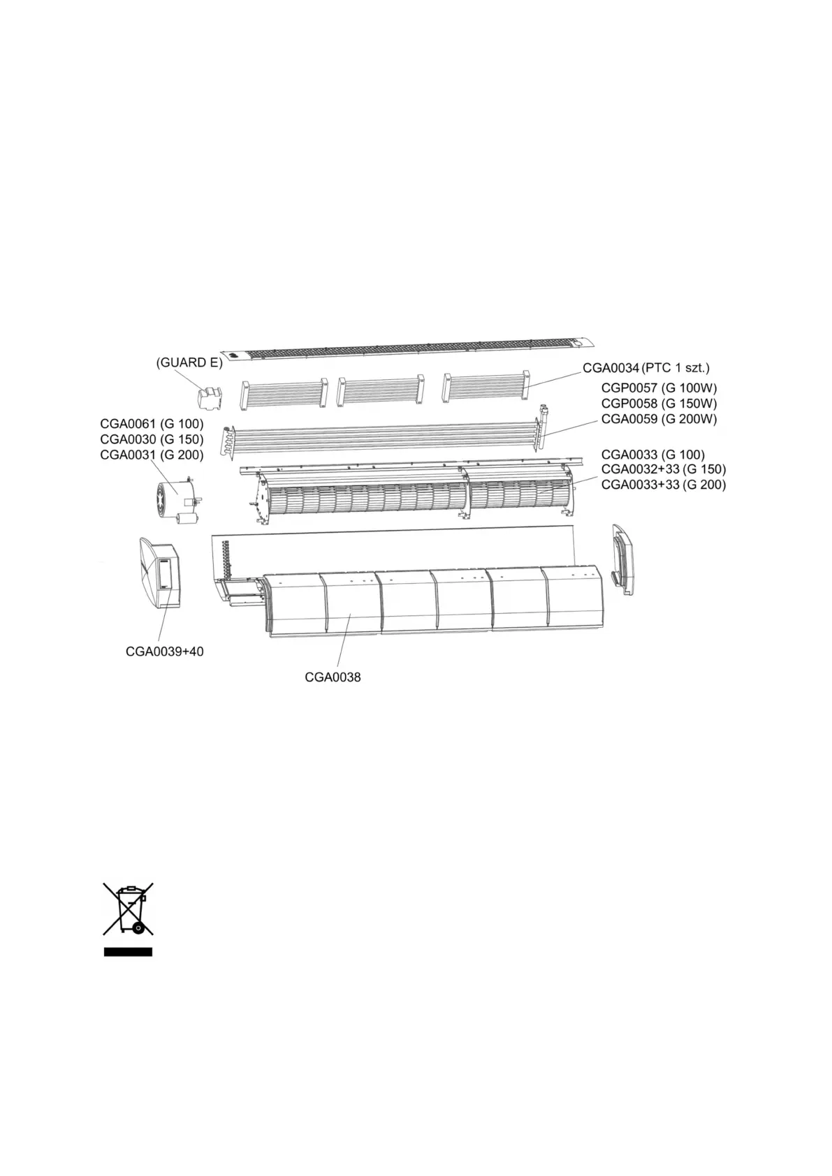
REPUESTOS
COLOR DEL DISPOSITIVO
Componentes de EPP: RAL 7016
Componentes pintados: RAL 9006
CUMPLIMIENTO DE LA DIRECTIVA RAEE 2012/19/UE
De conformidad con la legislación aplicable, es decir, la Ley de 29 de julio de 2005 sobre residuos de dispositivos eléctricos y
electrónicos (Diario Oficial de Leyes de 2005 N.º 180, documento 1495, con modificaciones posteriores) y la Ley de 21 de
noviembre de 2008 por la que se modifica la Ley de residuos de dispositivos eléctricos y electrónicos y algunas otras leyes
(Diario Oficial de Ley de 2008, N.º 223, documento 1464), en el momento de la compra de nuevos dispositivos eléctricos o
electrónicos con el siguiente símbolo:
¡Atención! RECUERDE QUE ESTOS EQUIPOS DEBERÁN ELIMINARSE POR SEPARADO (Artículo 22 (1), Diario
Oficial de Leyes de 2005 No. 180, documento 1495).
Para obtener información sobre el sistema de recogida de residuos de dispositivos eléctricos y electrónicos,
póngase en contacto con su distribuidor.
contactor