EasyManua.ls Logo

Sony HCD-DP900D - Exploded Views - Chassis Section; 7-3. Chassis Section Exploded View

Sony HCD-DP900D
102 pages
Print Icon
To Next Page IconTo Next Page
To Next Page IconTo Next Page
To Previous Page IconTo Previous Page
To Previous Page IconTo Previous Page
Loading...
67
HCD-DP900D
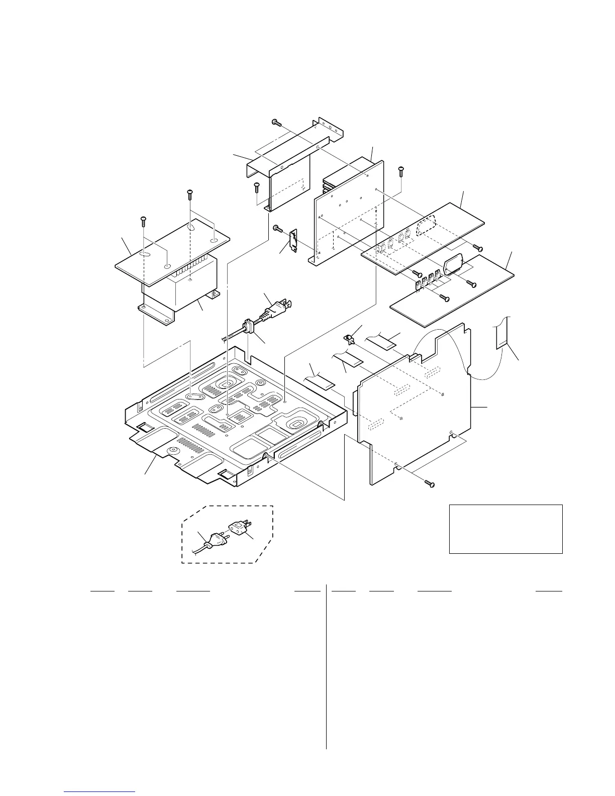
7-3. CHASSIS SECTION
Ref. No. Part No. Description Remarks Ref. No. Part No. Description Remarks
The components identified by
mark 0 or dotted line with mark
0 are critical for safety.
Replace only with part number
specified.
not supplied
not supplied
not supplied
not supplied
not supplied
T911
108
110 (E, MX, TH)
SP, MY, EA
109
107
106
102
103
104
105
101
#1
#2
#2
#1
#6
#1
#6
#4
#4
#5
#5
111
110
101 A-4676-757-A MAIN BOARD, COMPLETE (EA)
101 A-4727-085-A MAIN BOARD, COMPLETE (SP,MY)
101 A-4727-095-A MAIN BOARD, COMPLETE (E,MX)
101 A-4727-108-A MAIN BOARD, COMPLETE (TH)
102 1-773-042-11 WIRE (FLAT TYPE) (17 CORE)
103 1-757-419-11 WIRE (FLAT TYPE) (21 CORE)
104 1-757-420-11 WIRE (FLAT TYPE) (23 CORE)
105 1-823-369-11 WIRE (FLAT TYPE) (12 CORE)
106 A-4727-079-A FRONT AMP BOARD, COMPLETE (SP,MY,EA)
106 A-4727-091-A FRONT AMP BOARD, COMPLETE (E,MX)
106 A-4727-102-A FRONT AMP BOARD, COMPLETE (TH)
107 A-4727-081-A SURROUND AMP BOARD, COMPLETE (SP,MY,
EA)
107 A-4727-093-A SURROUND AMP BOARD, COMPLETE (E,MX)
107 A-4727-104-A SURROUND AMP BOARD, COMPLETE (TH)
108 1-680-189-11 TRANS BOARD
109 3-703-571-11 BUSHING (S) (4516), CORD (E,MX,TH)
* 109 3-703-244-00 BUSHING (2104), CORD (SP,MY,EA)
0 110 1-777-071-81 CORD, POWER (SP,MY,EA)
0 110 1-791-901-11 CORD, POWER (E,MX,TH)
0 111 1-569-008-21 ADAPTOR, CONVERSION (SP,MY,EA)
0 T911 1-437-509-11 TRANSFORMER, POWER
#1 7-685-646-79 SCREW +BVTP 3X8 TYPE2 IT-3
#2 7-685-647-79 SCREW +BVTP 3X10 TYPE2 IT-3
#4 7-685-881-09 SCREW +BVTT 4X8 (S)
#5 7-685-650-79 SCREW +BVTP 3X16 TYPE2 IT-3
#6 7-685-872-09 SCREW +BVTT 3X8 (S)
Ver 1.1 2002.03

Related product manuals