EasyManua.ls Logo

Sony HXR-MC1 Operating Guide - Indicators Displayed During Recording;Playback

Sony HXR-MC1 Operating Guide
96 pages
Print Icon
To Next Page IconTo Next Page
To Next Page IconTo Next Page
To Previous Page IconTo Previous Page
To Previous Page IconTo Previous Page
Loading...
90
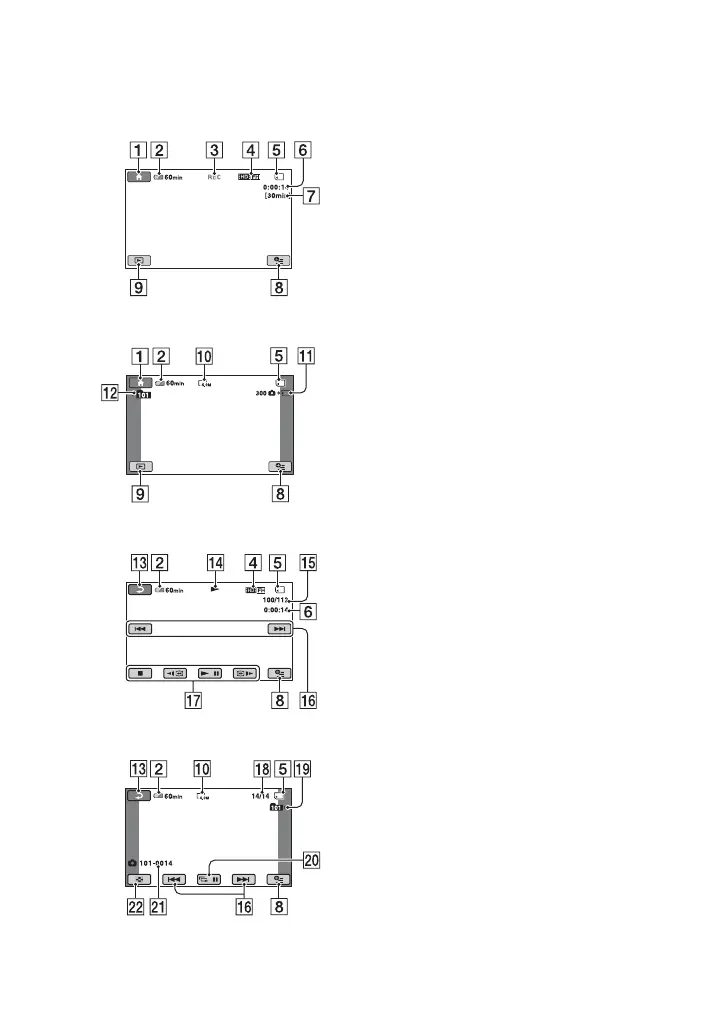
Indicators displayed during recording/playback
Recording movies
Recording still images
Viewing movies
Viewing still images
A HOME button (46)
B Remaining battery (approx.) (10)
C Recording status ([STBY] (standby) or
[REC] (recording))
D Recording quality (HD/SD) (43) and
recording mode (FH/HQ/SP/LP) (48)
E Media
F Counter (hour/minute/second)
G Recording remaining time
H OPTION button (58)
I VIEW IMAGES button (23)
J Image size (51)
K Approximate number of recordable still
images and media/During still image
recording
L Recording folder
M Return button
N Playback mode
O Currently playing movie number/
Number of total recorded movies
P Previous/Next button (24)
Q Video operation buttons (24)
R Currently playing still image number/
Number of total recorded still images
S Playback folder
T Slide show button (28)
U Data file name
V VISUAL INDEX button (23)

Table of Contents

Related product manuals