EasyManua.ls Logo

Sony XR-CA310 - Tuner Section

Sony XR-CA310
38 pages
Print Icon
To Next Page IconTo Next Page
To Next Page IconTo Next Page
To Previous Page IconTo Previous Page
To Previous Page IconTo Previous Page
Loading...
16
XR-CA310/L210
TUNER SECTION
0 dB=1 µV
Cautions during repair
When the tuner unit is defective, replace it by a new one be-
cause its internal block is difficult to repair.
Note: Adjust the tuner section in the sequence shown below.
1. FM RDS S-Meter Adjustment
2. FM Auto Seek/Stop Level Adjustment
3. FM Stereo Separation Adjustment
4. MW Auto Seek/Stop Level Adjustment
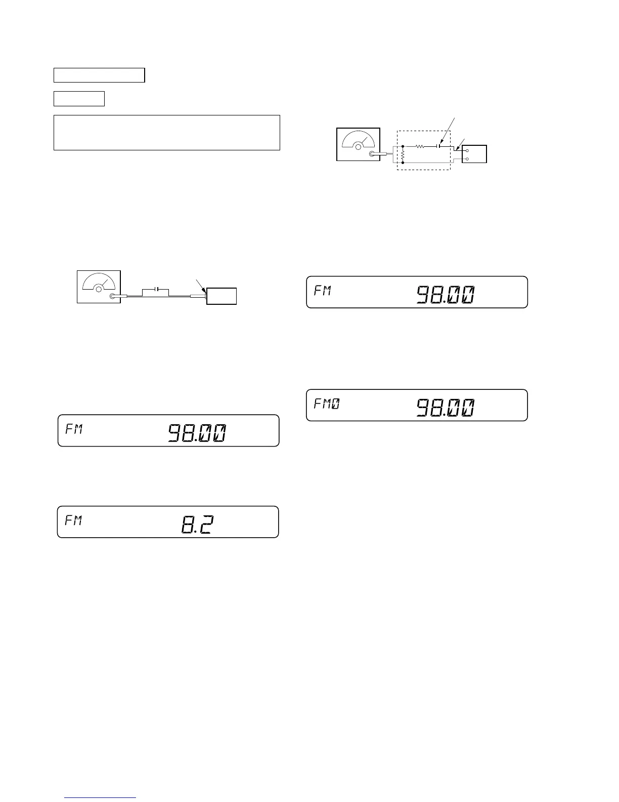
FM RDS S-Meter Adjustment
Setting:
[SOURCE] (CA310) or [TUNER] (L210) button: FM
Procedure:
1. Set to the test mode. (see page 14)
2. Push the [SOURCE] (CA310) or [TUNER] (L210) button and
set to FM.
Display
3. Push the [6] button.
4. Adjust RV100 on main board so that the display indication is
“8.2”.
Display
Specified Value: Display indication: 8.2 ± 0.2
Adjustment Location: See page 18.
FM Auto Seek/Stop Level Adjustment
Setting:
[SOURCE] (CA310) or [TUNER] (L210) button: FM
Procedure:
1. Set to the test mode. (see page 14)
2. Push the [SOURCE] (CA310) or [TUNER] (L210) button and
set to FM.
Display
3. Adjust with the volume RV3 on TU100 so that the “FM” indi-
cation turns to “FM0” indication on the display window.
But, in case of already indicated “FM0”, turn the RV3 so that
put out light “0” indication and adjustment.
Display
Adjustment Location: See page 18.
FM RF signal
generator
dummy
antenna
Carrier frequency : 98.00 MHz
Output level : 22 dB (12.6 µV)
Mode : mono
Modulation : 1 kHz, 22.5 kHz deviation (30%)
antenna
jack (ANT100
)
set
50
50
0.1pF
FM RF signal
generator
Carrier frequency : 98.00 MHz
Output level : 35 dB (56.2 µV)
Mode : mono
Modulation : no modulation
0.01 µF
set
antenna jack (ANT100
)
SHUF
MBP
REG
MBP
SHUF
REG
MBP
SHUF
REG
SHUF
MBP
REG

Other manuals for Sony XR-CA310

Related product manuals