EasyManua.ls Logo

Sorensen DLM-E Series - Figure 2-6. Multiple Loads with Local Sensing; Figure 2-7. Multiple Loads with Remote Sensing

Sorensen DLM-E Series
74 pages
Print Icon
To Next Page IconTo Next Page
To Next Page IconTo Next Page
To Previous Page IconTo Previous Page
To Previous Page IconTo Previous Page
Loading...
Installation DLM-E 3kW & 4kW Series Power Supplies
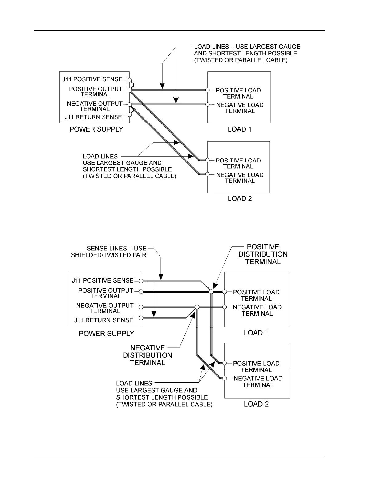
Figure 2–6. Multiple Loads with Local Sensing
(Local sense lines shown are default J11 to busbar connections)
Figure 2–7. Multiple Loads with Remote Sensing
(Local sense lines shown are default J11 to busbar connections)
2-14 M362000-01 Rev E

Table of Contents

Related product manuals