EasyManua.ls Logo

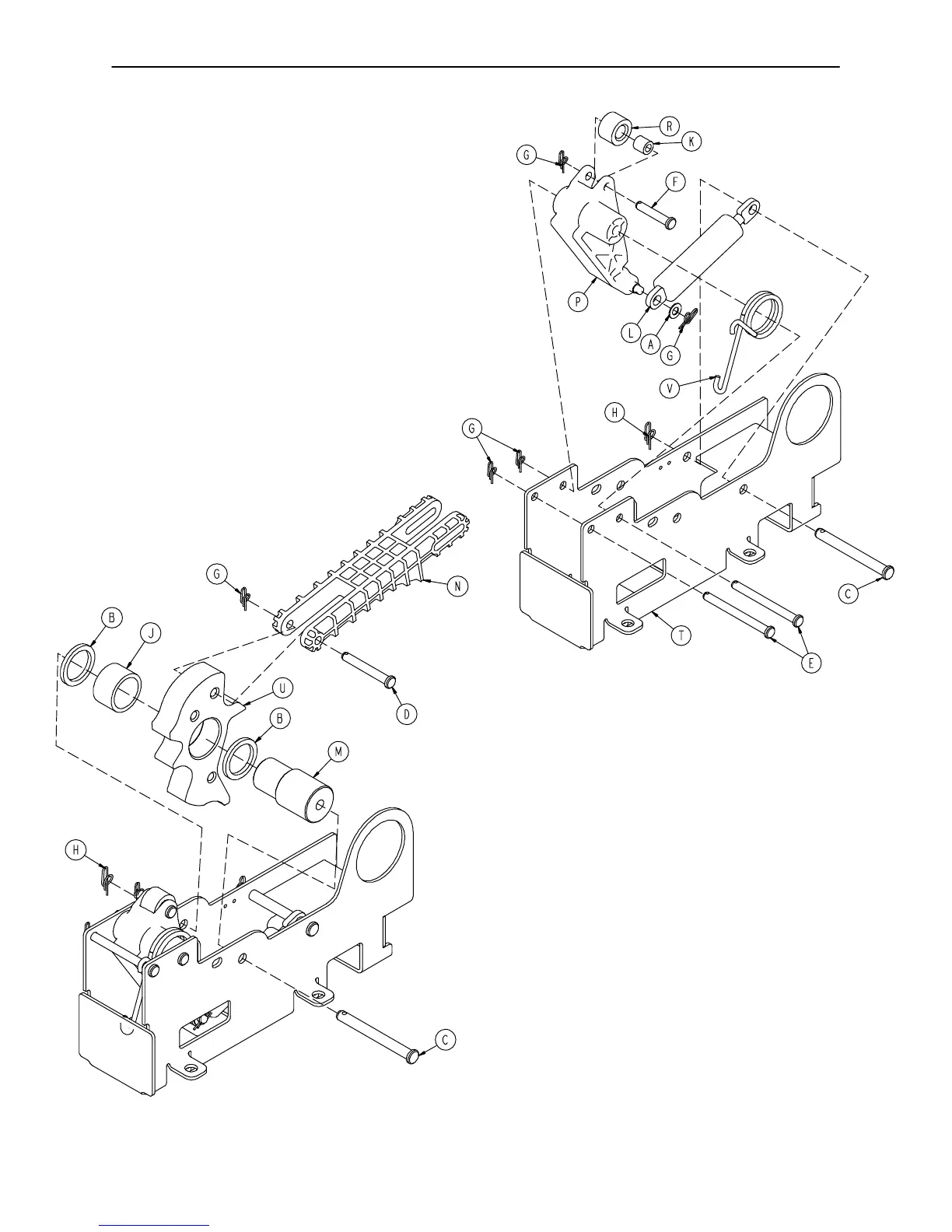
Stryker 1020 - Cam Bracket Assembly

Stryker 1020
123 pages
Print Icon
To Next Page IconTo Next Page
To Next Page IconTo Next Page
To Previous Page IconTo Previous Page
To Previous Page IconTo Previous Page
Loading...
Cam Bracket Assembly
56
Assembly part number 1040006201 (reference only)
3

Related product manuals