EasyManua.ls Logo

Stryker 1020 - Page 73

Stryker 1020
123 pages
Print Icon
To Next Page IconTo Next Page
To Next Page IconTo Next Page
To Previous Page IconTo Previous Page
To Previous Page IconTo Previous Page
Loading...
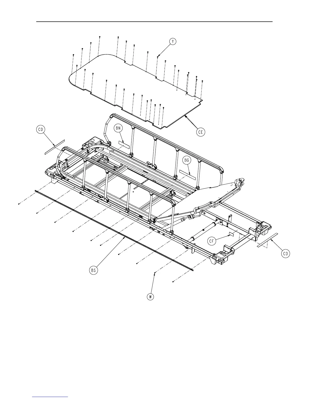
Litter Assembly
72
HEAD END

Related product manuals