EasyManua.ls Logo

Taie FU86 - Program Initial Setting Procedures

Default Icon
66 pages
Print Icon
To Next Page IconTo Next Page
To Next Page IconTo Next Page
To Previous Page IconTo Previous Page
To Previous Page IconTo Previous Page
Loading...
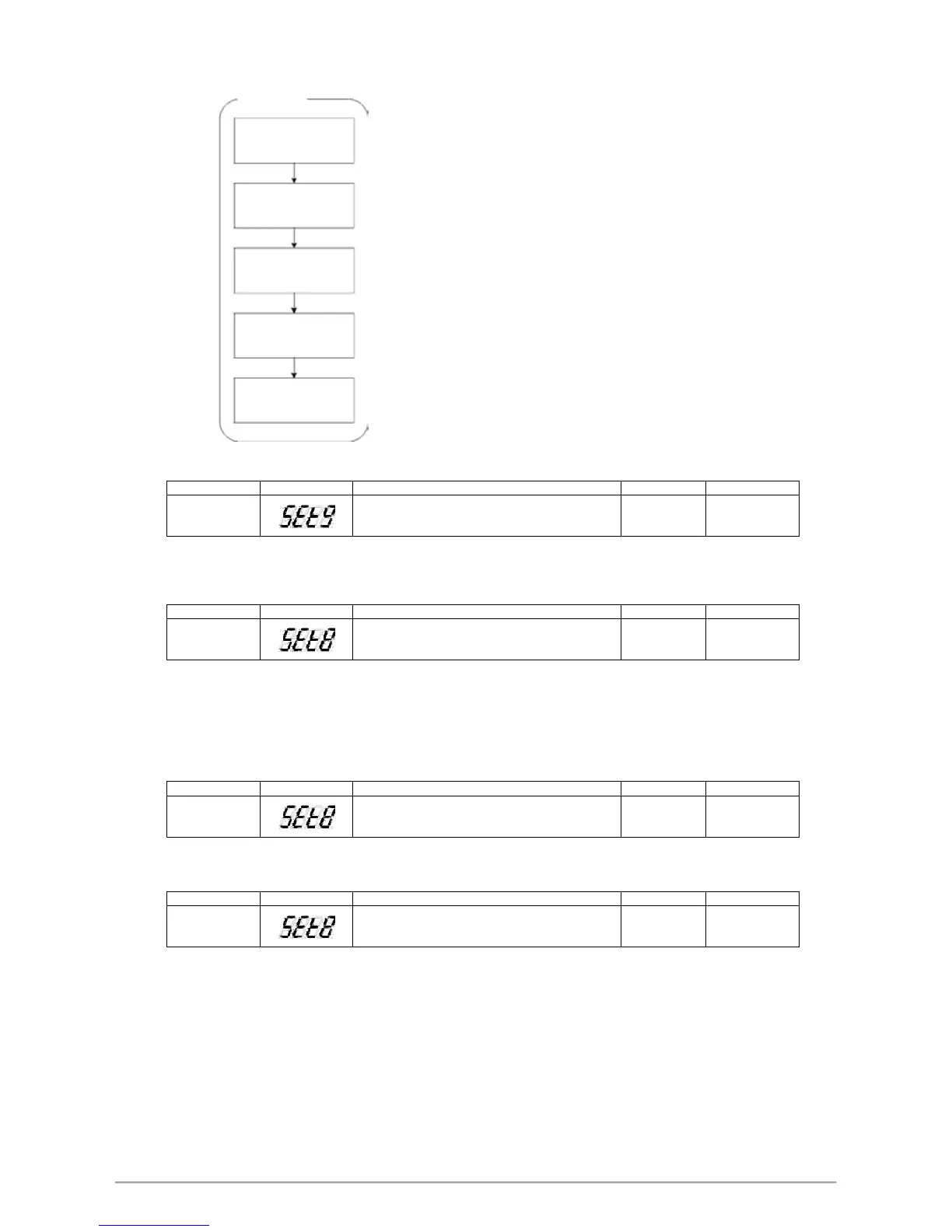
13.3 Program Initial Setting
Program
Initial Setting
Program time format
Program execute
start address
Program execute with
repeat function ?
Program execute with
power fail function ?
Program execute with
wait function ?
1. Setting program time format
Parameter
noitpircseD yalpsid DEL
Default
Level
Program time format
SET9.2
0
4 leveL 0 etunim.ruoh :
1
: minute.second
This parameter determines the time format of timer during program execution
When SET9.2 =0 , TM_n=33.23, it indicates that the execution time of this segment is 33 hours and 23 minutes When
SET9.2 =1 , TM_n=33.23, it indicates that the execution time of this segment is 33 minutes and 23 seconds
2. Setting program execute start address
Parameter
noitpircseD yalpsid DEL
Default
Level
SET8.3
Program execute start address
0
4 leveL 1 orez morf etucexe :
1
: execute from current PV,cut time
When program starts, SV initial value will execute according to SET8.3 set value
(1) SET8.3 =0, PTN=1
PV=50.0 SV_1=100 TM_1=1.00(1 hour)
When program starts, SV will start to execute from 0.0, and SV shall reach SV_1 in one hour
(2) SET8.3 =0, PTN=1 PV=50.0 SV_1=100 TM_1=1.00(1 hour)
When program starts, SV will start to execute from PV temperature of 50.0, while controller will deduct the time
taken to go from 0.0 to 50.0, and SV shall reach SV_1 in half hour
3. Setting program execute with repeat function
Parameter
noitpircseD yalpsid DEL
Default
Level
Program execute repeat
SET8.1
0
4 leveL 0 noitcnuf taeper elbasid :
1
: Program execute repeat
When program completes the execution of the final segment, and “END” message is not shown, the program will be
executed again.
4. Setting program execute with power failure protection function
Parameter
noitpircseD yalpsid DEL
Default
Level
SET8.2
Program execute power fail protection
0
4 leveL 0 noitcetorp liaf rewop elbasid :
1
: enable power fail protection
power failure during program execution, if there is power failure protection function set,
controller will execute current segment program after booting finish
Assume power failure occurring in the segment_4, ramp temperature from 100°C to 200°C, and power failure
occurring at SV=125, the program will execute from 100°C (segment_4), after controller booting finish
49 FY/FU operation manual

Related product manuals