EasyManua.ls Logo

Teac A-5500 - Page 83

Teac A-5500
109 pages
Print Icon
To Next Page IconTo Next Page
To Next Page IconTo Next Page
To Previous Page IconTo Previous Page
To Previous Page IconTo Previous Page
Loading...
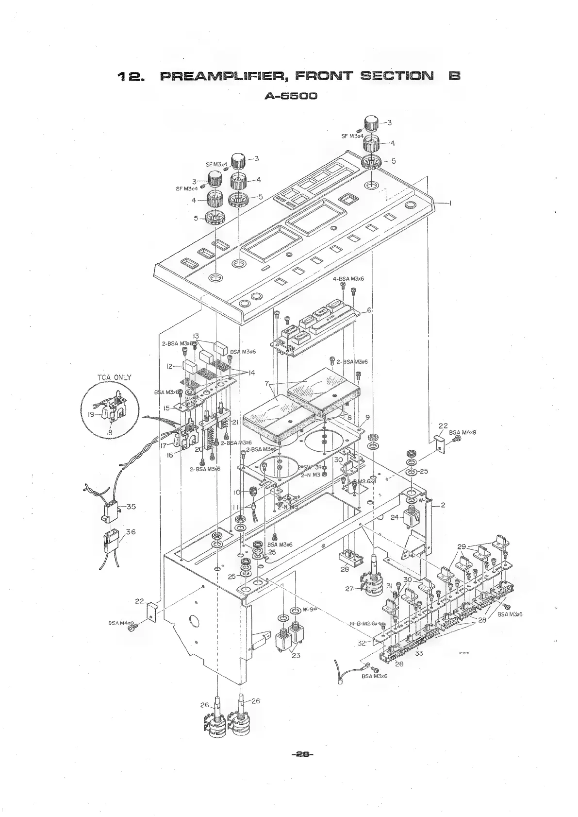
PREAMPLIFIER,
FRONT
SECTION
B
12.
A-5500
BSA
M4x8
®
SA
M3x!
oe
SF
M3x4
oS
diZ
SF
M3x4
©
fa
3-
|
\e
2-
BSA
M3x6
BSA
M3x6
~28-

Related product manuals