EasyManua.ls Logo

TechnipFMC Smith Meter microLoad.net - Figure 15. Multiple Microload.net Serial Communications

TechnipFMC Smith Meter microLoad.net
46 pages
Print Icon
To Next Page IconTo Next Page
To Next Page IconTo Next Page
To Previous Page IconTo Previous Page
To Previous Page IconTo Previous Page
Loading...

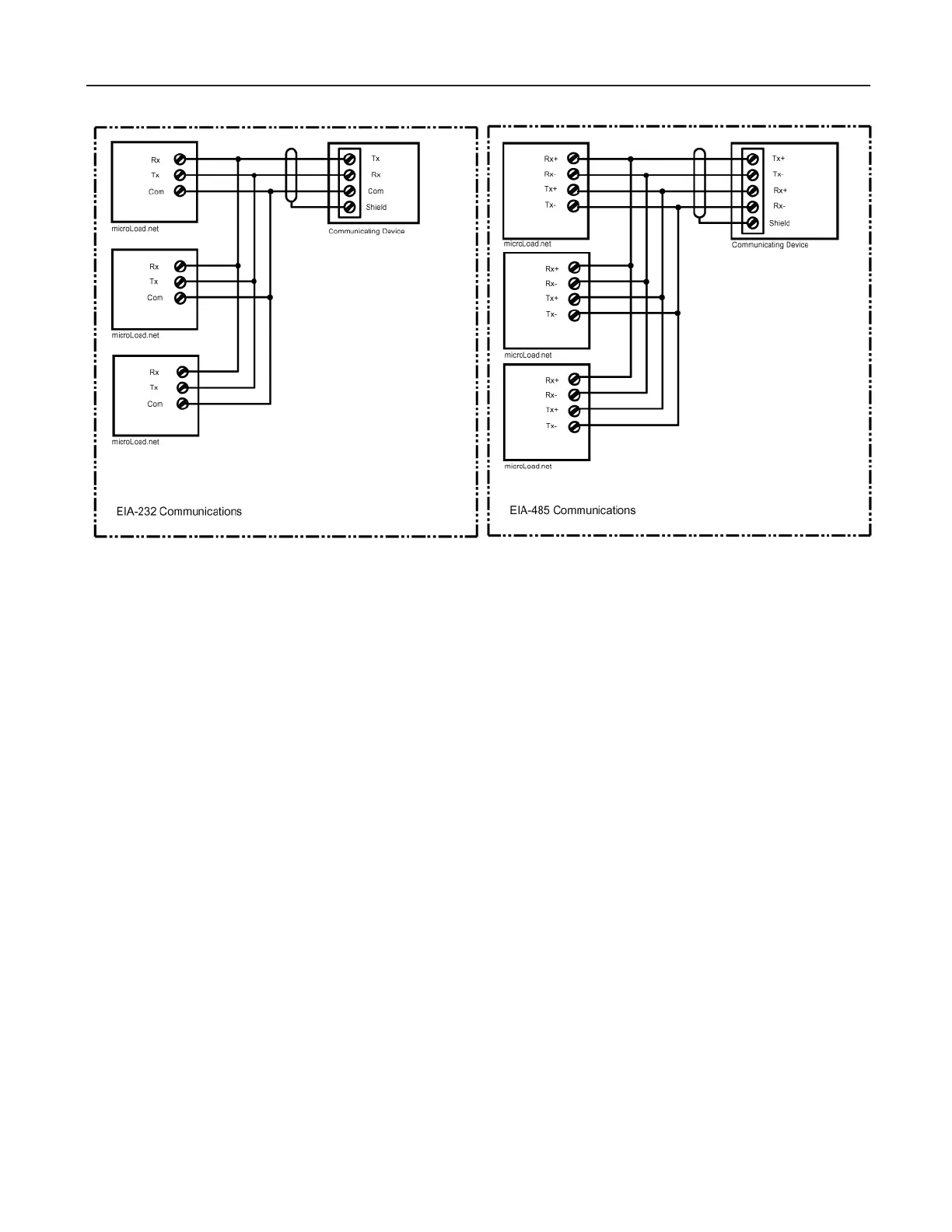
Section IV – Diagrams
Figure 15. Multiple microLoad.net Serial Communications

multiple microLoad.nets. The last microLoad.net in a multi-drop scheme must have the Receive Terminators enabled.
These terminators are asserted by placing the appropriate switches of “S1” to the “ON” position. See Page 14 for
location of “S1” on the MNET board.
 
 
 
Note: These terminators are for EIA-485 communications only. DO NOT assert terminators for EIA-232 modes.

Table of Contents

Related product manuals