EasyManua.ls Logo

Tektronix MSO70000 Series - Figure 3-15: Initial Test Hookup

Tektronix MSO70000 Series
262 pages
To Next Page IconTo Next Page
To Next Page IconTo Next Page
To Previous Page IconTo Previous Page
To Previous Page IconTo Previous Page
Loading...
Performance Tests (MSO70000/C Series, DSA/DPO70000B/C Series, and DPO7000 Series)
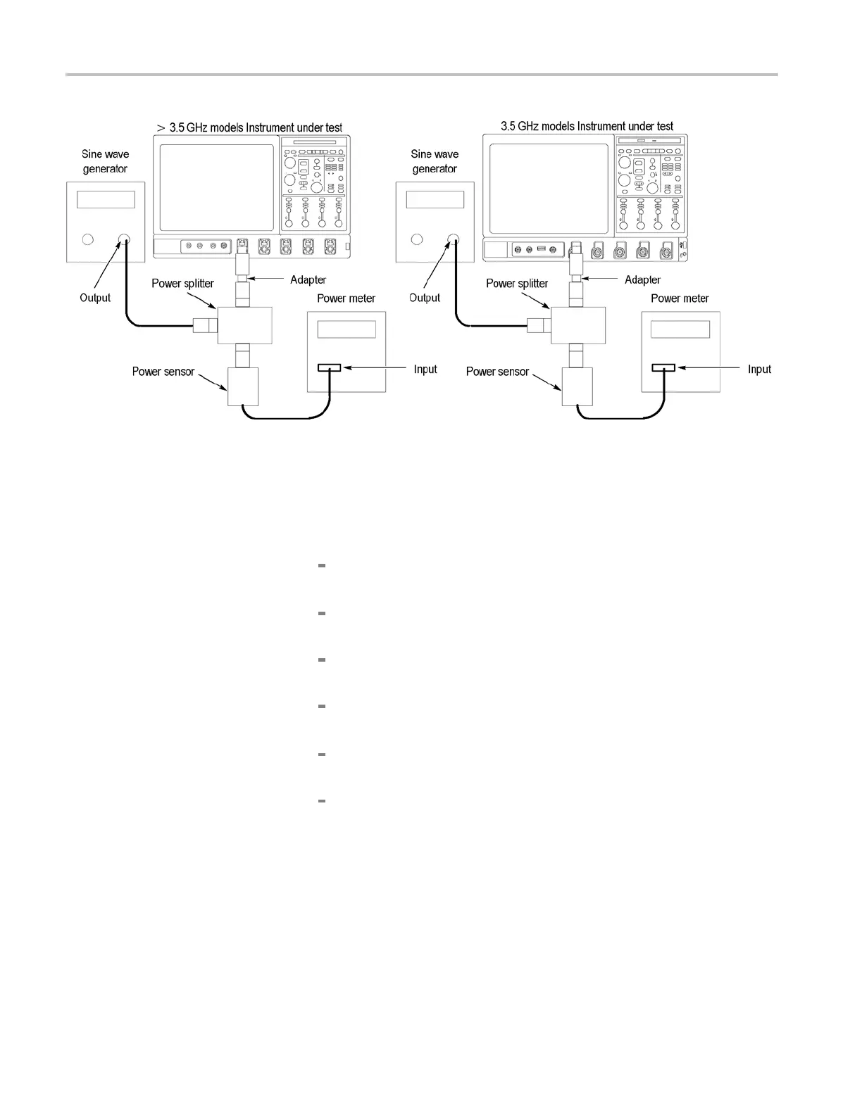
Figure 3-15: Initial test hookup
2. Conrm the input channels are within limits for bandwidth: Do the following
substeps - test Ch 1 rst, skipping substeps a and bsince Ch 1 is already
set up for testing from step 1.
a. Select an unchecked channel:
MSO71254C and DSA/DP O71254/B: Press Cursors to remove
cursors from the display.
From the button bar, touch Measure and then Clear All to remove
the previous measurement.
Press the Vertical button of the channel just conrmed to remove the
channel from the display.
Press the front-panel Vertical button that corresponds to the channel
you are to conrm.
DPO7354: Touch Vertical, select Verti ca l Set up, and then touch
Termination 50 .
Move the test setup to the channel you selected.
3–66 MSO70000/C, DSA70000B/C, DPO7000B/C, DPO7000, MSO5000, DPO5000 Series

Table of Contents

Other manuals for Tektronix MSO70000 Series

Related product manuals