EasyManua.ls Logo

Telstra 13550 - Telephone Base Buttons (Telstra 13500 Version)

Telstra 13550
83 pages
Print Icon
To Next Page IconTo Next Page
To Next Page IconTo Next Page
To Previous Page IconTo Previous Page
To Previous Page IconTo Previous Page
Loading...
25
VOL+ and VOL-
Press to adjust the volume of message playback.
Press to adjust the telephone base speaker volume when the phone is not in
use.
Press to adjust the telephone base ringer volume when the phone is ringing.
PAGE
Press to page all system handsets.
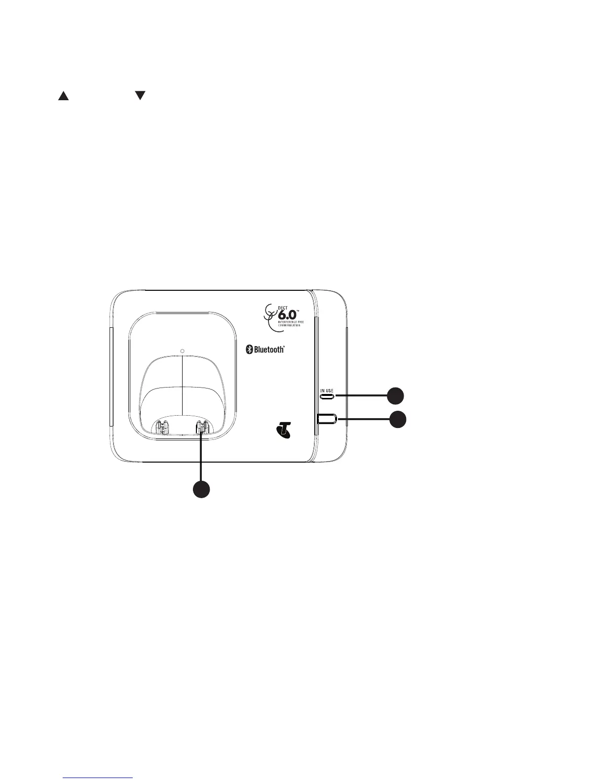
TELEPHONE BASE BUTTONS (TELSTRA 13500 VERSION)
IN USE LIGHT
Flashes when there is an incoming call.
Flashes when handsets are being deregistered.
On when a handset is in use.
On when a handset is being registered.
PAGE
Press to page all system handsets.
CHARGING CRADLE
8.
9.
1.
2.
3.
2013 Value Handset
Color specification
Version
01
HENRY 2013_06_20
Scale 100 %
Part Descripition Color Texture/Finishing
1-a. Top Cabinet
SPIB-1
Spray Color - Vtech Silver 04 (refer to the sample)
Silkscreen Color - Pantone 433 C ( )
1-b. Top Cabinet
MT11510
Molded Color - Pantone Black C
2. Bottom Cabinet
MT11520
Molded Color - Pantone Black C
3. Rubber Key
(1 pos)
MT11510
Molded Color - Pantone Black C
4. LED
MT11510
Transparency Rubber - Backlit Color Red
1-d. Top Cabinet
SPIA-1
Molded Color - Pantone Black C
1-c. Top Cabinet
SPIA-1
Molded Color - Pantone Black C
Silkscreen Color - Vtech Silver 04
(refer to the sample) ( )
PA G E
2
Silkscreen Color - Vtech Silver 04
1
2
3

Table of Contents

Related product manuals