EasyManua.ls Logo

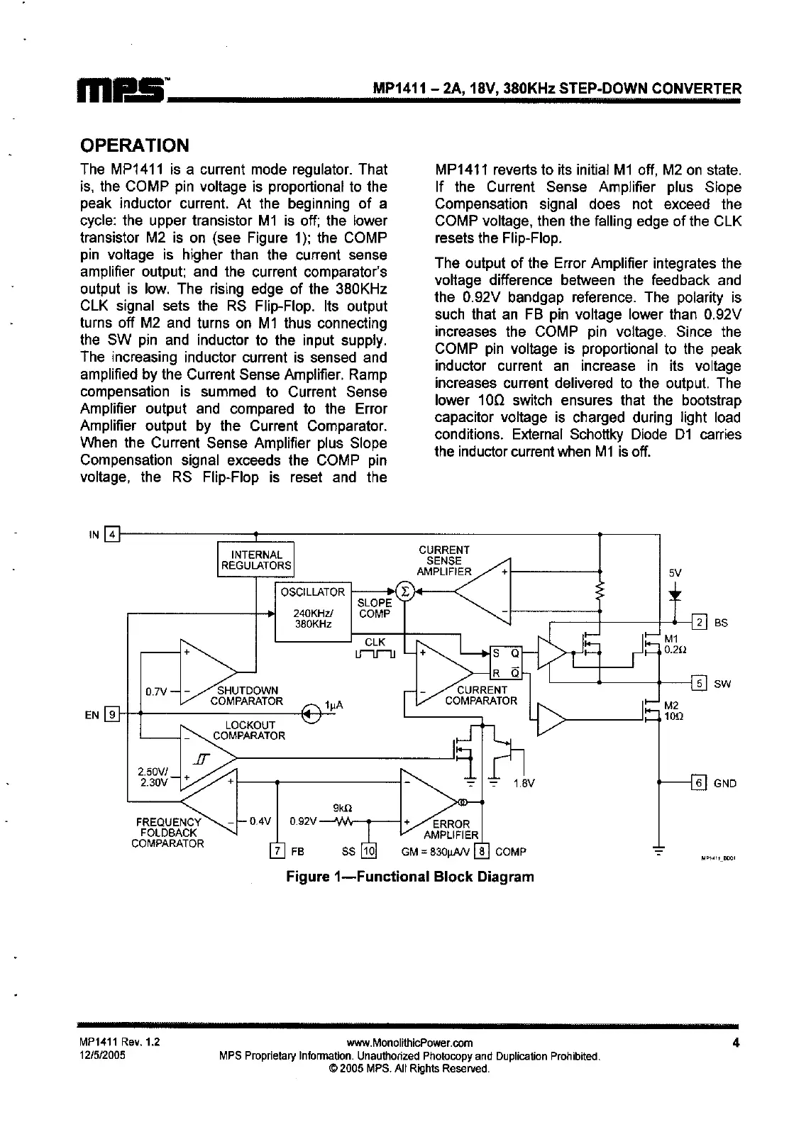
THOMSON 32E90NH22 - MP1411 Step-Down Converter Datasheet; Operational Description

THOMSON 32E90NH22
89 pages
Print Icon
To Next Page IconTo Next Page
To Next Page IconTo Next Page
To Previous Page IconTo Previous Page
To Previous Page IconTo Previous Page
Loading...

Table of Contents

Related product manuals