EasyManua.ls Logo

TOHATSU MX 50D2 - Page 99

TOHATSU MX 50D2
178 pages
Print Icon
To Next Page IconTo Next Page
To Next Page IconTo Next Page
To Previous Page IconTo Previous Page
To Previous Page IconTo Previous Page
Loading...
INSPECTION ET MAINTENANCE 41
9
Nettoyage à l'eau douce
Si le moteur a été utilisé dans eaux salées
ou polluées, nettoyez l'extérieur du moteur
et rincez abondamment le canal de
refroidissement avec l'accessoire de
rinçage.
Vissez l'accessoire de rinçage compris
dans l'orifice de nettoyage de l'embase.
Branchez un tuyau d'arrosage à l'acces-
soire de rinçage et rincez abondamment à
l'eau.
(Assurez-vous d'assujettir au préalable la
prise d'eau et la prise d'eau secondaire à
l'embase.)
Assurez-vous que le canal d'eau de
refroidissement ne soit pas obstrué. Une
réduction du flux d'eau de refroidissement
pourrait entraîner une surchauffe du
moteur et les problèmes mécaniques qui
pourraient en résulter.
Ne lancez jamais le moteur sans avoir
démonté l'hélice pour prévenir tout risque
de lésion corporelle résultant d'une mise
en service accidentelle.
Ne démarrez ni ne faites fonctionner le
moteur à l'intérieur ou dans tout espace
incorrectement ventilé. Les gaz d'échappe-
ment contiennent du monoxyde de car-
bone, un gaz incolore et inodore qui peut
être mortel lorsqu'il est inhalé sur une cer-
taine durée.
Note
Il est recommandé de vérifier les propriétés
chimiques de l'eau dans laquelle le moteur
hors-bord est régulièrement utilisé.
Faites tourner le moteur au ralenti pendant
le rinçage.
CONSEIL DE PRUDENCE
AVERTISSEMENT
AVERTISSEMENT
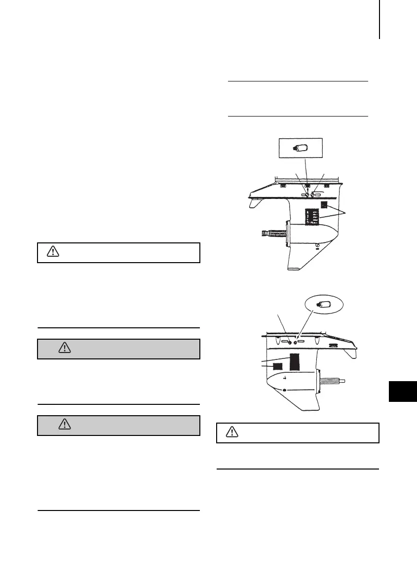
Bouchon de rinçage (en option)
BOUCHON DE LAVAGE BOUCHON D'HUILE
Ruban
adhésif
X50
Bouchon de rinçage (en option)
BOUCHON D'HUILE
BOUCHON DE
LAVAGE
Ruban
adhésif
WX50
CONSEIL DE PRUDENCE
MWX50D2_F.book Page 41 Thursday, August 18, 2011 5:33 PM

Table of Contents

Other manuals for TOHATSU MX 50D2

Related product manuals