EasyManua.ls Logo

Topcon CV-5000 - 1-5 How to Use This Repair Manual

Topcon CV-5000
59 pages
Print Icon
To Next Page IconTo Next Page
To Next Page IconTo Next Page
To Previous Page IconTo Previous Page
To Previous Page IconTo Previous Page
Loading...
3
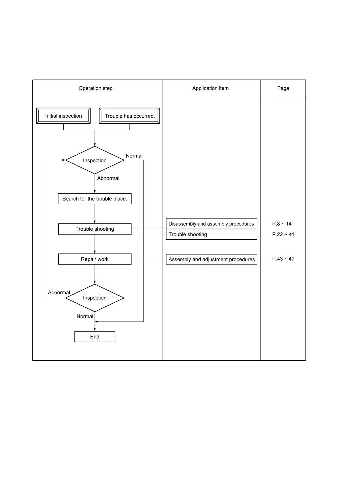
1-5 How to Use This Repair Manual
When performing the inspection or when inspecting, adjusting or repairing the instrument for its trouble,
follow the flow chart shown below.
R-CV5000-0-0704-01

Related product manuals