EasyManua.ls Logo

Trane GRAA - Operational Controls and Airflow; Optional Gas Controls; Air Handling Requirements

Trane GRAA
64 pages
Print Icon
To Next Page IconTo Next Page
To Next Page IconTo Next Page
To Previous Page IconTo Previous Page
To Previous Page IconTo Previous Page
Loading...
30
MUA-SVX003B-EN
Optional Gas Controls
These units are available with optional gas controls which will give either multi-stage or
modulating operation. The sequence of operation of those units equipped with these optional
gas controls differs only at what rate each duct furnace’s main burners ignite and operate at or
the order of duct furnace firing for those units equipped with two or three duct furnaces.
TTwwoo SSttaaggee UUnniittss: Two stages of heating; first stage is 40% of full rate, second stage is 100% of
full rate. Main burner ignition is at first stage only.
TThhrreeee SSttaaggee UUnniittss: Dual duct furnace models: First furnace is equipped with two stage heating;
second furnace is equipped with a single stage heating but fired independently giving three
stages of heating. Triple duct furnace models: Each duct furnace is equipped with single stage
heating but fired independently, giving three stages. Each stage is 33% of the unit’s full input
rate. Duct furnace one will always light first and disengage last.
FFoouurr SSttaaggee UUnniittss: Dual duct furnace models only. Each duct furnace is equipped with two stage
heating but fired independently, giving four stages. Each stage is 25% of the units full input rate.
Duct furnace one will always light first and disengage last.
SSiixx SSttaaggee UUnniittss: Triple duct furnace models only. Each duct furnace is equipped with two stage
heating but fired independently giving six stages. Each stage is 16.5% of the units full input rate.
Duct furnace one will always light first and disengage last.
EElleeccttrroonniicc MMoodduullaattiioonn UUnniittss: These units are equipped with a electronic modulating control
which provides unit ring capabilities of 40 to 100% of the units full input rate. This control is
found in the gas train downstream of the gas valve and allows main burner ignition only at the
maximum rate. A thermostat with remote setpoint adjustment modulates the gas input.
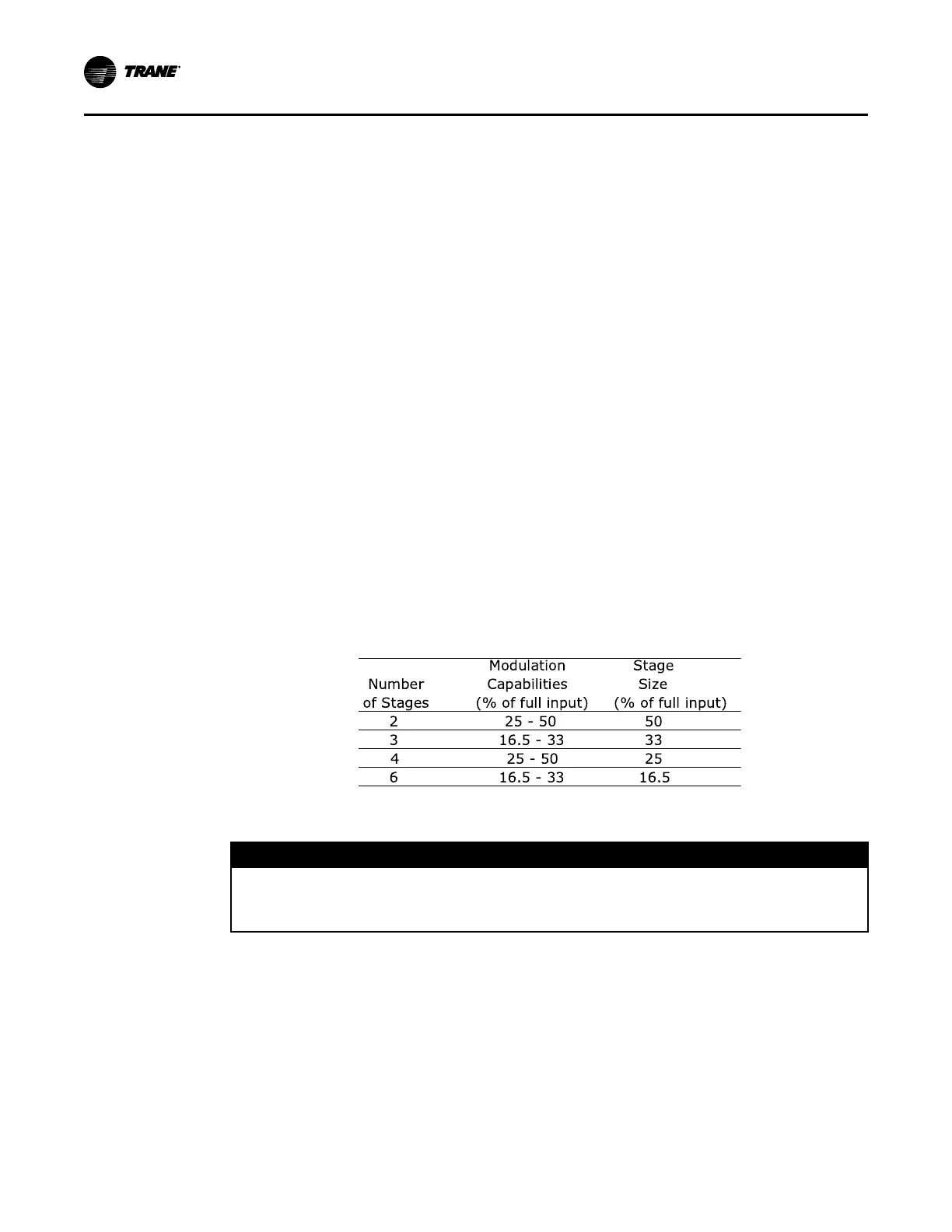
Muullttii--SSttaaggee ww// EElleeccttrroonniicc MMoodduullaattiioonn UUnniittss: These dual and triple duct furnace models are
equipped with an electronic modulating control on duct furnace one and single or two stage
heating on each successive duct furnace. Furnace one (modulated) will fire first and disengage
last. Additional stages of heat will engage after furnace one has fired at maximum modulation
capability for the duration of the delay setting. The amount of modulation and each stage size
depends upon unit size and the number of stages. See following chart:
Air Handling Requirements and Adjustments
NNOOTTIICCEE
UUnniitt DDaammaaggee!!
FFaaiilluurree ttoo ffoollllooww iinnssttrruuccttiioonnss bbeellooww ccoouulldd rreessuulltt iinn uunniitt ddaammaaggee..
RReemmoovvee wwooooddeenn sshhiippppiinngg ssuuppppoorrtt ffrroomm bbeenneeaatthh bblloowweerr hhoouussiinngg ooff bblloowweerr SSeeccttiioonn..
Static Pressure through the unit should never exceed 2.0 inch W.C. (0.50 kPa). The standard unit
is operated at a temperature rise range of 20 to 60°F (11 to 33°C). The high temperature rise
model is operated at a temperature rise range of 60 to 90°F (33 to 50°C).
IImmppoorrttaanntt:: It is important that the final temperature leaving the unit does not exceed 160°F (71°
C). When final air throughput adjustments are being made, a check of the discharge
air temperature should be made after unit has operated for 15 to 20 minutes.
OOppeerraattiioonn

Other manuals for Trane GRAA

Related product manuals