EasyManua.ls Logo

Trane Thermo King TriPac EVOLUTION - A a;; C C C C O O N N D D E E N N S S E E R R I I N N S S T T a a L L L L a a T T I I O O N

Trane Thermo King TriPac EVOLUTION
96 pages
Print Icon
To Next Page IconTo Next Page
To Next Page IconTo Next Page
To Previous Page IconTo Previous Page
To Previous Page IconTo Previous Page
Loading...
30
TK 55676-19-IM-EN
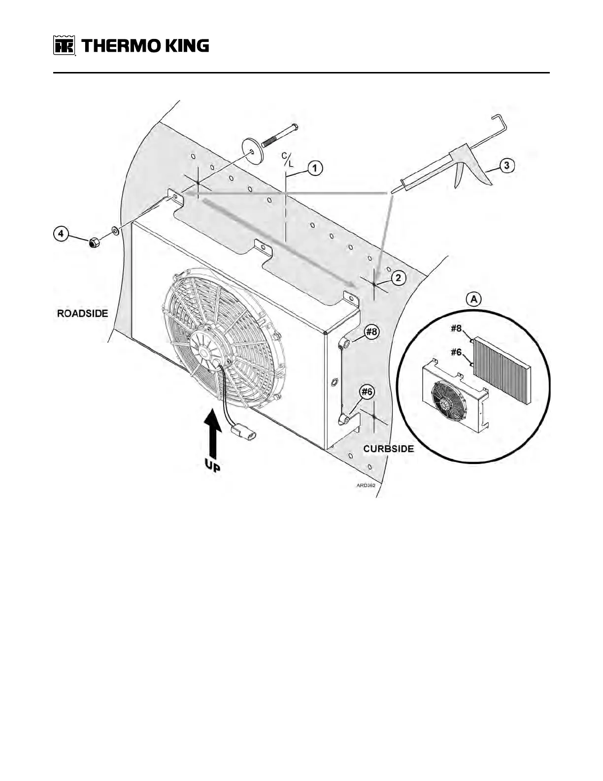
Figure 14. Typical Condenser Installation Shown
AA//CC CCoonnddeennsseerr IInnssttaallllaattiioonn

Table of Contents

Related product manuals