EasyManua.ls Logo

Trianco TRO Evolution 30 System - Air Adjustments and Electrode Positioning

Trianco TRO Evolution 30 System
48 pages
Print Icon
To Next Page IconTo Next Page
To Next Page IconTo Next Page
To Previous Page IconTo Previous Page
To Previous Page IconTo Previous Page
Loading...
page -36
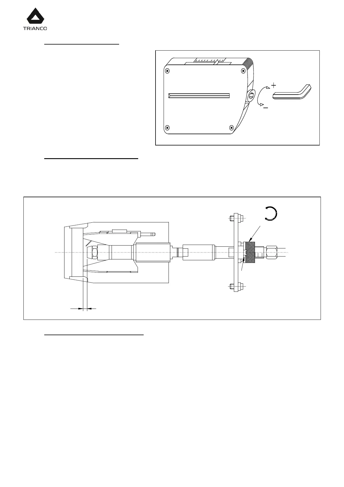
24.4.- Primary air adjustment
To adjust the primary combustion air,
turn the screw using a 6 mm. Allen
key, as shown in the diagram. Turn it
clockwise to increase the airflow,
and anticlockwise to decrease it.
24.5.- Combustion line adjustment
To adjust the combustion line, loosen the combustion line blocking screw "BL". Turn the line
regulator "RL" clockwise to increase the airflow and anticlockwise to decrease it. After
adjustment, tighten the combustion line blocking screw "BL".
BL
RL
+
-
3 mm
0
1
24.6.- Correct position of electrodes
To ensure correct ignition of the “Domestic” burner, the measurements shown in the diagram
must be observed. Also ensure the electrode fixing screws have been screwed in place
before replacing the flame tube.
10
0

Table of Contents

Related product manuals