EasyManua.ls Logo

Vaillant auroMATIC 560 - Page 23

Vaillant auroMATIC 560
36 pages
Print Icon
To Next Page IconTo Next Page
To Next Page IconTo Next Page
To Previous Page IconTo Previous Page
To Previous Page IconTo Previous Page
Loading...
13Installation Manual auroMATIC 560
230V Netz
F 1
T4
Kol 1-P
Kol 2-P / ZP
LEG/BYP
EP
LP/UV 1
VRS 560
C1 C2
Kol 1
Sp 1
Sp 2
Sp 3
Gain
Kol 2
5 V / 24 V
230 V~
VU / VK
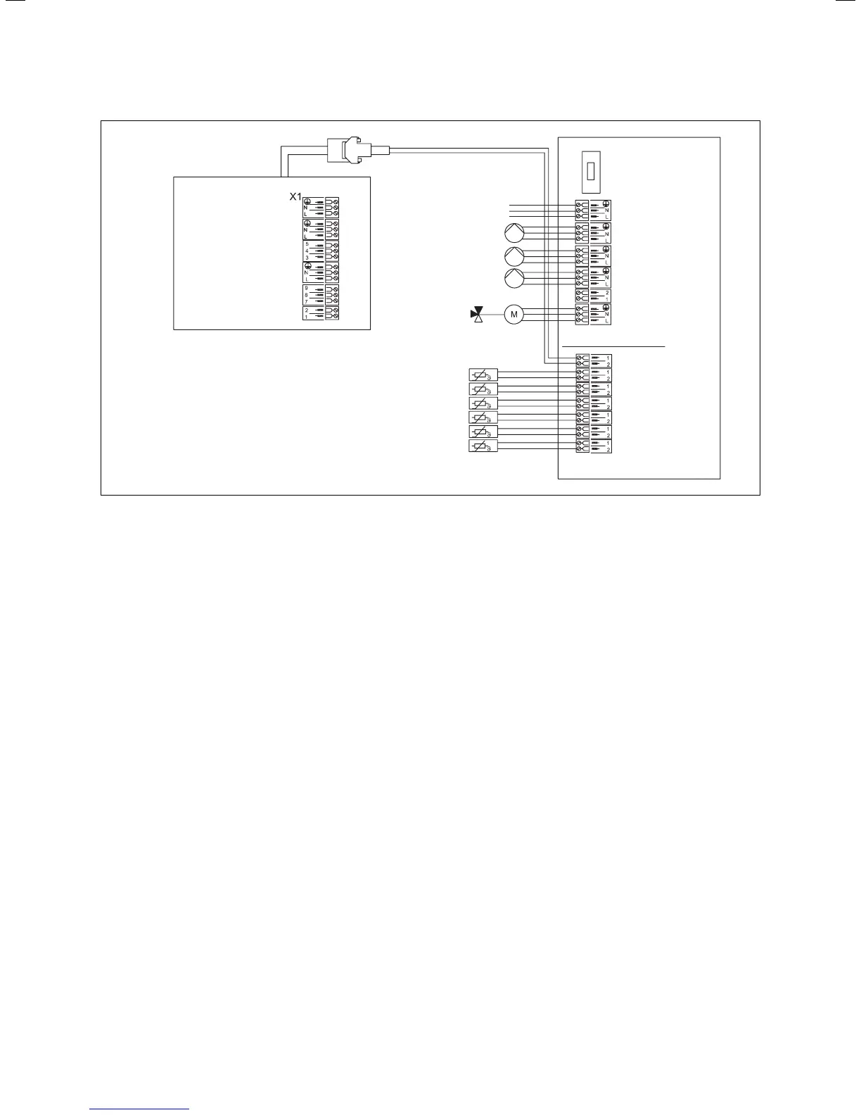
Fig. 5.8 Wiring diagram for hydraulic plan 2: Connection of a
second cylinder or swimming pool
Electrical installation 5

Table of Contents

Related product manuals