EasyManua.ls Logo

VendNet CB500-SA - Vend Rack Column Configuration; Adjusting Back Spacers for Product Fit; Aligning Gate Assembly and Latch Striker

VendNet CB500-SA
22 pages
Print Icon
To Next Page IconTo Next Page
To Next Page IconTo Next Page
To Previous Page IconTo Previous Page
To Previous Page IconTo Previous Page
Loading...
8 | 3578 • CB500 VENDOR
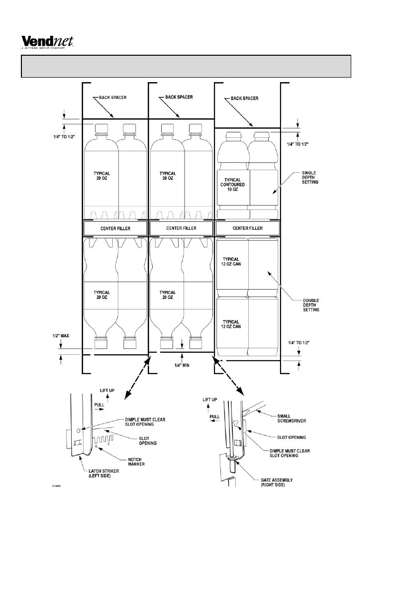
Adjust the back spacer, latch striker or gate assembly to achieve the required
dimension. The Vend Rack has been factory set for most 20-oz. bottles or 12-oz. cans.
If vending 16.9-oz water bottles, remove Filler (4211816) from the back of the inner
door and install it in the Vend Rack. Follow instructions on Filler decal.
The vend rack has been factory set for most 20-oz bottles or 12-oz cans.
Figure 4. Column Depth

Related product manuals