EasyManua.ls Logo

VersaPulse Select - Page 26

VersaPulse Select
83 pages
Print Icon
To Next Page IconTo Next Page
To Next Page IconTo Next Page
To Previous Page IconTo Previous Page
To Previous Page IconTo Previous Page
Loading...
CAL & ADJUST
3-12
VersaPulse Select Service Manual
0621-499-01 03/94
®
®
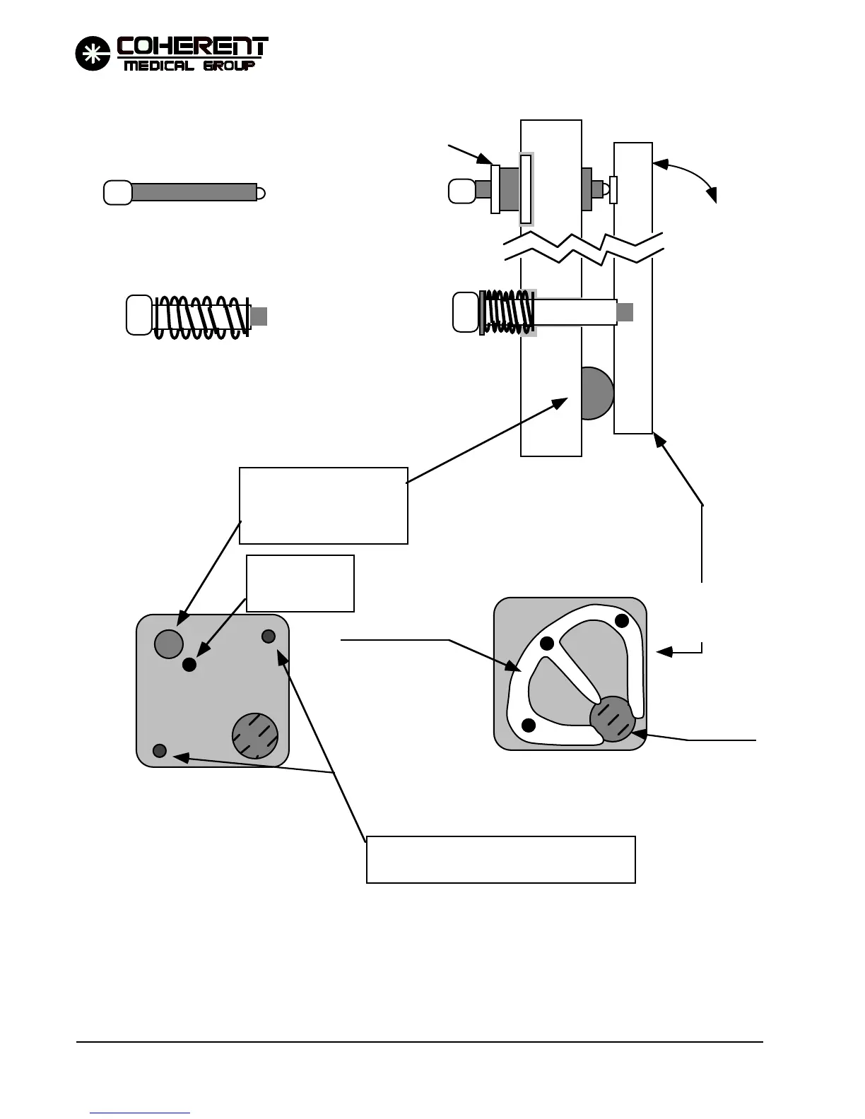
FIGURE 3.4: ADJUSTMENT AND REPLACEMENT OF THE CHANNEL OPTICS
MOUNTING SCREW
(one per mount)
ADJUSTING SCREW
(typical, 2 per mount)
LOCKING NUT
MOUNTING
WALL
MIRROR
MOUNT
OPTIC RETAINER
MIRROR
Mounting Screw
threads into this
hole.
OUTSIDE SURFACE
(away from wall)
INSIDE SURFACE
(towards wall)
SIDE VIEW
Rounded end of the adjusting screws contact
the optic mount here.
Ball bearing is the
pivot point about which
the optic mount is moved
by the two adjusting screws

Table of Contents