EasyManua.ls Logo

Viessmann B2HA 80 - Gas Piping Pressure Test; Heating Water Connections

Viessmann B2HA 80
64 pages
Print Icon
To Next Page IconTo Next Page
To Next Page IconTo Next Page
To Previous Page IconTo Previous Page
To Previous Page IconTo Previous Page
Loading...
Vitodens 200-W B2HA 80 to 100, 285 to 352 Installation
5685 827 - 14
20
Boiler Connections
Connections (continued)
Gas piping pressure test
When performing the gas piping pressure test, ensure the
following requirements are met.
1. Isolate the boiler from the gas supply piping system
using the individual manual shutoff valve during
pressure tests equal to or less than ½ psig (14 “w.c.)
2. The boiler and its individual shutoff valve must be
disconnected from the gas supply piping system
during any pressure testing of that system at test
pressures in excess of ½ psig (14 “w.c.)
3. Perform leak test.
Use approved liquid spray solution for bubble test.
Ensure that no liquid is sprayed on any electrical
components, wires or connectors. Do not allow
leak detection fluid to contact gas valve regulator
or regulator vent opening.
4. Correct any and all deficiencies.
5. Remove air from gas line.
IMPORTANT
½ psig = 14 “w.c.
WARNING
Never check for gas leaks with an open flame.
WARNING
Exposing boiler gas pressure regulator and gas valve to
extreme pressures renders warranty null and void.
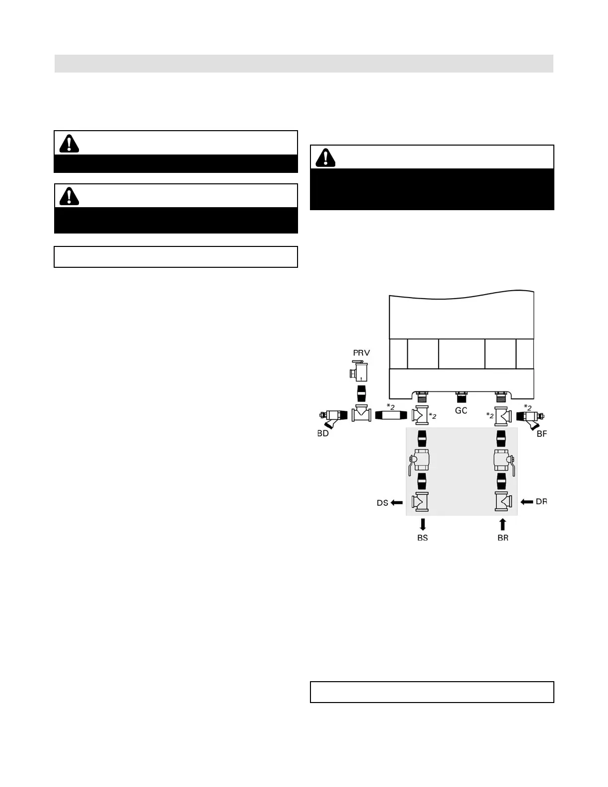
Heating water connections
1. Thoroughly flush heating system (particularly before
connecting the boiler to an existing system).
2. Connect boiler to the heating system.
Max. allowable working pressure (MAWP)..4 bar (60 psig)
Max. boiler water temperature.....................210ºF (99ºC)
Legend
DR Boiler heating return for domestic hot water production
DS Boiler heating supply for domestic hot water production
BD Boiler Drain
BF Boiler Fill
BR Boiler Return
BS Boiler Supply
GC Gas Connection
PRV Pressure Relief Valve
*1 See page 43 for alternate DHW connection.
3. Connect field supplied nipples and tees as shown
for DHW supply and return.
IMPORTANT
Apply sufficient amount of thread sealant (supplied) when
making the connections.
WARNING
Exposing the boiler to pressures and temperatures in
excess of those listed will result in damages, and will
render warranty null and void.
*1 DHW
Connections
(Field Supplied)

Table of Contents

Related product manuals