EasyManua.ls Logo

Viessmann B2TB004 - Connecting the Outdoor Temperature Sensor

Viessmann B2TB004
60 pages
Print Icon
To Next Page IconTo Next Page
To Next Page IconTo Next Page
To Previous Page IconTo Previous Page
To Previous Page IconTo Previous Page
Loading...
5461 889 - 16
46
Vitodens 222-F, B2TB 19, 35, 68, 125 Installation
Control Connections
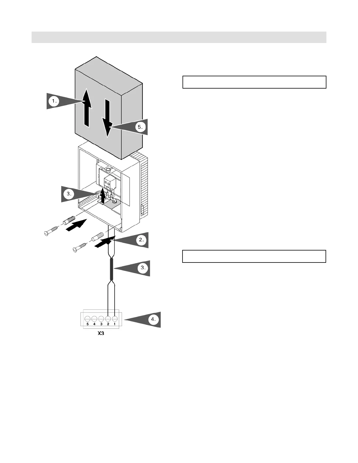
Connecting the Outdoor Temperature Sensor
1. Remove cover of outdoor temperature sensor.
2. Mount wall-mount base (cable entry must point
downward).
3. Route cable from the boiler control board to the
outdoor sensor. Connect cable to sensor terminals
(wires are interchangeable).
Cable specifications:
2-wire cable, max. cable length 95 ft. (35 m) with a
wire size of min. AWG 16 copper.
4. Connect the outdoor temperature sensor to terminals
X 3.1/X3.2 on the boiler control board (wires are not
polarity sensitive).
5. Place cover on base and snap into place.
IMPORTANT
The outdoor temperature sensor should be mounted 6.6
to 8.2 ft. (2 to 2.5 m) above ground level on the north or
northwest wall of the building. In case of a multi-storey
building, mount outdoor temperature sensor in the upper
half of the second floor.
Ensure that sensor is not located above windows, doors
and air vents, or immediately underneath a balcony or
gutter.
The outdoor temperature sensor must not be covered
by plaster. If mounting on an unplastered wall, make
allowances for thickness of plaster or remove sensor
before plastering wall.
IMPORTANT
Cable to the outdoor sensor must not be laid near line
voltage wiring (120/240V).

Table of Contents

Related product manuals