EasyManua.ls Logo

Wallenstein BXTR6438 - 4. Controls; Engine Controls; Ignition Switch Operation

Wallenstein BXTR6438
68 pages
Print Icon
To Next Page IconTo Next Page
To Next Page IconTo Next Page
To Previous Page IconTo Previous Page
To Previous Page IconTo Previous Page
Loading...
Controls
BXTR6438
Trailer Wood Chipper
20
4. Controls
Review this section to become familiar with the location and
function of each control before starting.
4.1 Engine
Always read the engine operator's manual supplied with the
machine to familiarize yourself with its operating and procedure
details.
1
2
3
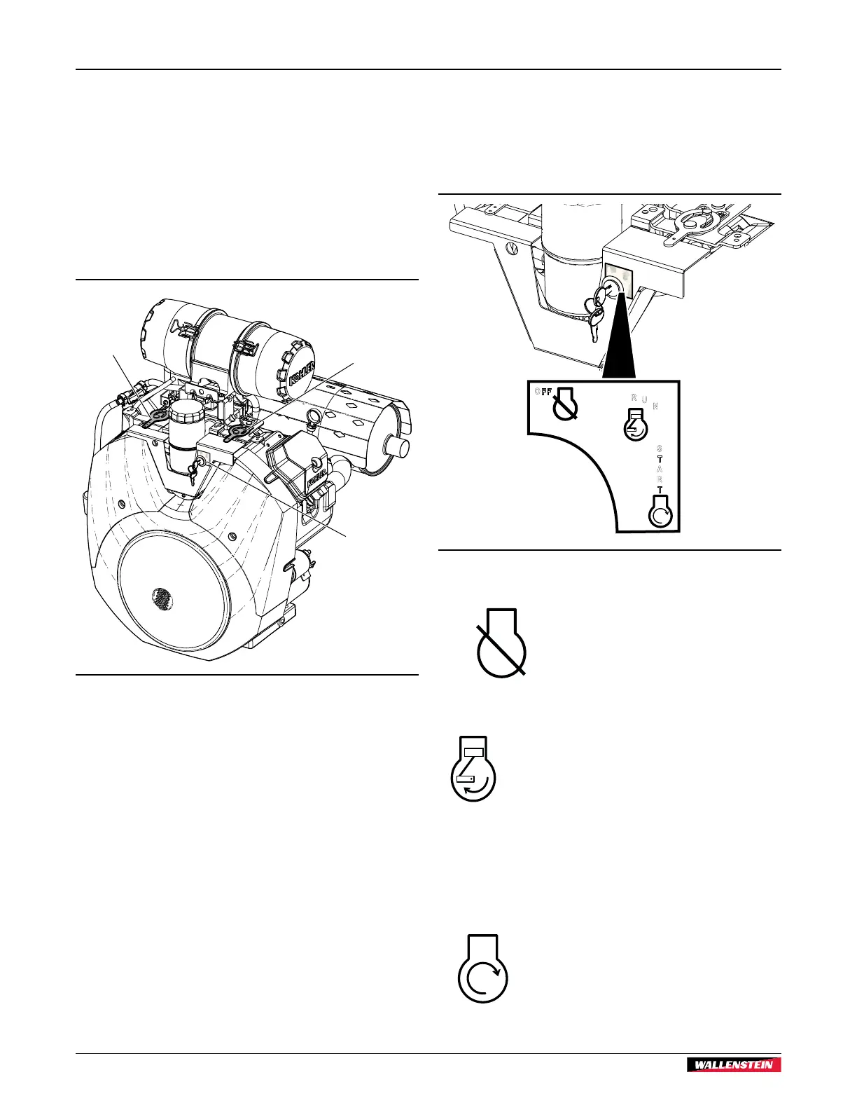
Fig. 4 – Engine Controls
1. Engine Throttle
2. Choke Control
3. Ignition Switch
4.1.1 Ignition Switch
This key-operated switch controls the electric power to the
engine. The switch has three positions—OFF, RUN, and START.
O F F
R
U
N
S
T
A
R
T
01557
Fig. 5 – Ignition Switch
OO FFFF
OFF – Turn key fully counterclockwise to
stop the electrical system power and turn the
engine off.
RR
UU
NN
RUN (ON)Turn clockwise to the centre
detent for the run position. This is the
position where the engine operates. In a
starting attempt, pause briefly at RUN to
power up system electronics.
SS
TT
AA
RR
TT
START – Turn fully clockwise to the last
spring-loaded detent position to engage
the engine starter. Release it the key switch
returns to RUN.

Related product manuals