EasyManua.ls Logo

Waltron 3041 - Flow Diagram; Analyzer Operations; Figure 2.4: Flow Diagram

Waltron 3041
55 pages
Print Icon
To Next Page IconTo Next Page
To Next Page IconTo Next Page
To Previous Page IconTo Previous Page
To Previous Page IconTo Previous Page
Loading...
Introduction
19
Waltron User Manual 101-016-B.3
3041 Silica Analyzer
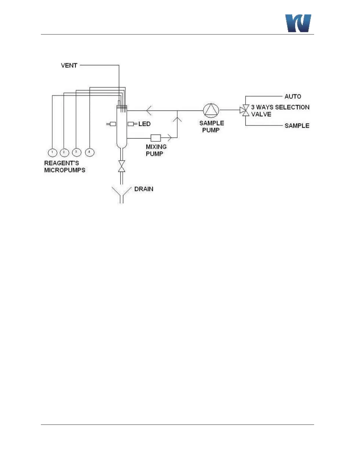
2.4.2 FLOW DIAGRAM
Figure 2.4: Flow diagram
2.4.3 ANALYZER OPERATIONS
The Waltron 3041 Silica Analyzer performs several operations throughout a cycle. A list of
common operations is shown below.
Rinse #1
Rinse #2
Drain
Sample #1
Sample #2
Add Reagent #1
Add Reagent #2
Add Reagent #3

Table of Contents