EasyManua.ls Logo

WarmFlow COMBI 70 - 9 Burners; RDB Burner; Oil Supply

Default Icon
52 pages
Print Icon
To Next Page IconTo Next Page
To Next Page IconTo Next Page
To Previous Page IconTo Previous Page
To Previous Page IconTo Previous Page
Loading...
9.0 Burners
9.1 RDB Burner
The burner is fitted with the correct nozzle and the pressure set. All that is further
required before commissioning, is to connect the oil and electricity supply.
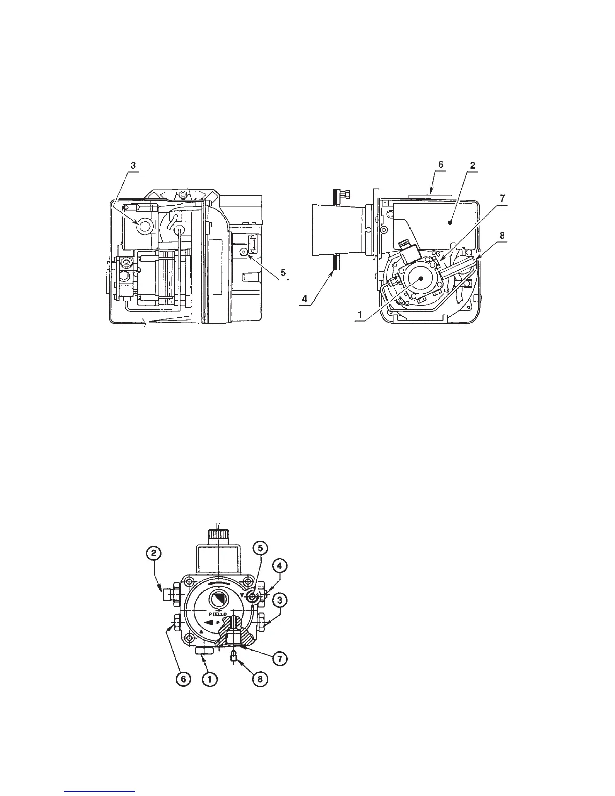
1. Pump 5. Air damper adjustment screw
2. Control box 6. Air tube connection (supplied with BF kit)
3. Reset button with lock-out lamp 7. Pump pressure adjustment screw
4. Flange with insulating gasket 8. Pressure gauge port
9.2 Oil Supply
The burner is supplied for use with a one pipe system. For use on a two pipe system,
it is necessary to remove the return port plug and fit a small by-pass plug as shown.
1. Suction port
2. To nozzle
3. Pressure gauge port/air bleed
4. Pump pressure adjustment
5. Vacuum port
6. To hydraulic ram
7. Return port
8. By-pass plug
Page 36

Related product manuals