EasyManua.ls Logo

Wascom EMERALD W75ES - Rapid Advance

Default Icon
65 pages
Print Icon
To Next Page IconTo Next Page
To Next Page IconTo Next Page
To Previous Page IconTo Previous Page
To Previous Page IconTo Previous Page
Loading...
17
1303
1022
1020
Operating Instructions
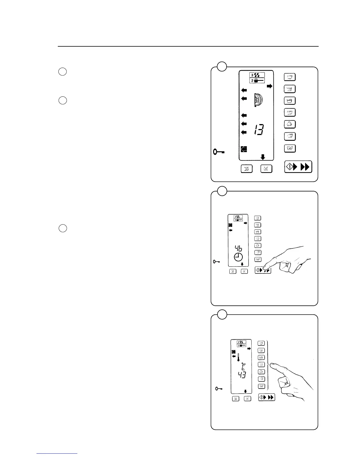
Insert required number of quarters as shown
on the display, which counts down quarters as
they are inserted. Press START button when
the display shows 00.
A clock symbol will now appear and remaining
wash time in minutes counts down. (The time for
each cycle will not be displayed until the cycle
has been run once completely from beginning to
end, so the microprocessor knows how long it
should take). The microprocessor retains in
memory how long it took to run each cycle the
last five times and displays the average time.
Since water pressure may fluctuate affecting fill
times, the displayed average cycle time is not
always exact and may vary from machine to
machine. If you find cycle times taking longer and
longer, use that information as a warning that
your water inlet screens may be clogged,
extending fill times, or some other problem may
exist.
Figure 31 illustrates a temperature display
function only available on washers with built-in
heating, which are not used in North America.
Fig.
29
Fig.
30
Fig.
31
31
30
29

Table of Contents