EasyManua.ls Logo

Wascom EMERALD W75ES - Control Unit

Default Icon
65 pages
Print Icon
To Next Page IconTo Next Page
To Next Page IconTo Next Page
To Previous Page IconTo Previous Page
To Previous Page IconTo Previous Page
Loading...
40
Mechanical and electrical design
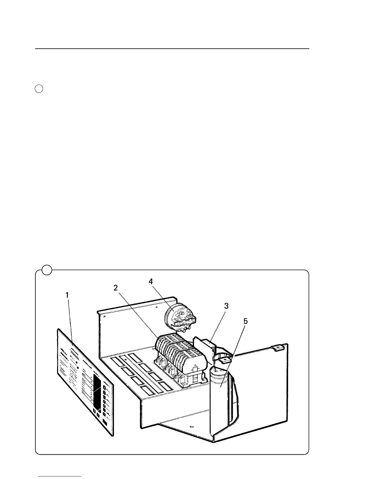
Control unit
The keypad and microprocessor include all components necessary for
operating the machine such as an Information Display and wash cycle
selection buttons.
The microprocessor (1) is mounted just behind the keypad.
Relays (2), transformer (3) supplying power to the microprocessor, and
level control (4) are located at the top of the machine easily accessible for
service, as are the motor capacitors (5) on 1-phase models.
Electrical connections are made by quick-disconnect plugs.
1865
60
Fig
60

Table of Contents