EasyManua.ls Logo

Waters ACQUITY CH-A - Page 73

Waters ACQUITY CH-A
101 pages
Print Icon
To Next Page IconTo Next Page
To Next Page IconTo Next Page
To Previous Page IconTo Previous Page
To Previous Page IconTo Previous Page
Loading...
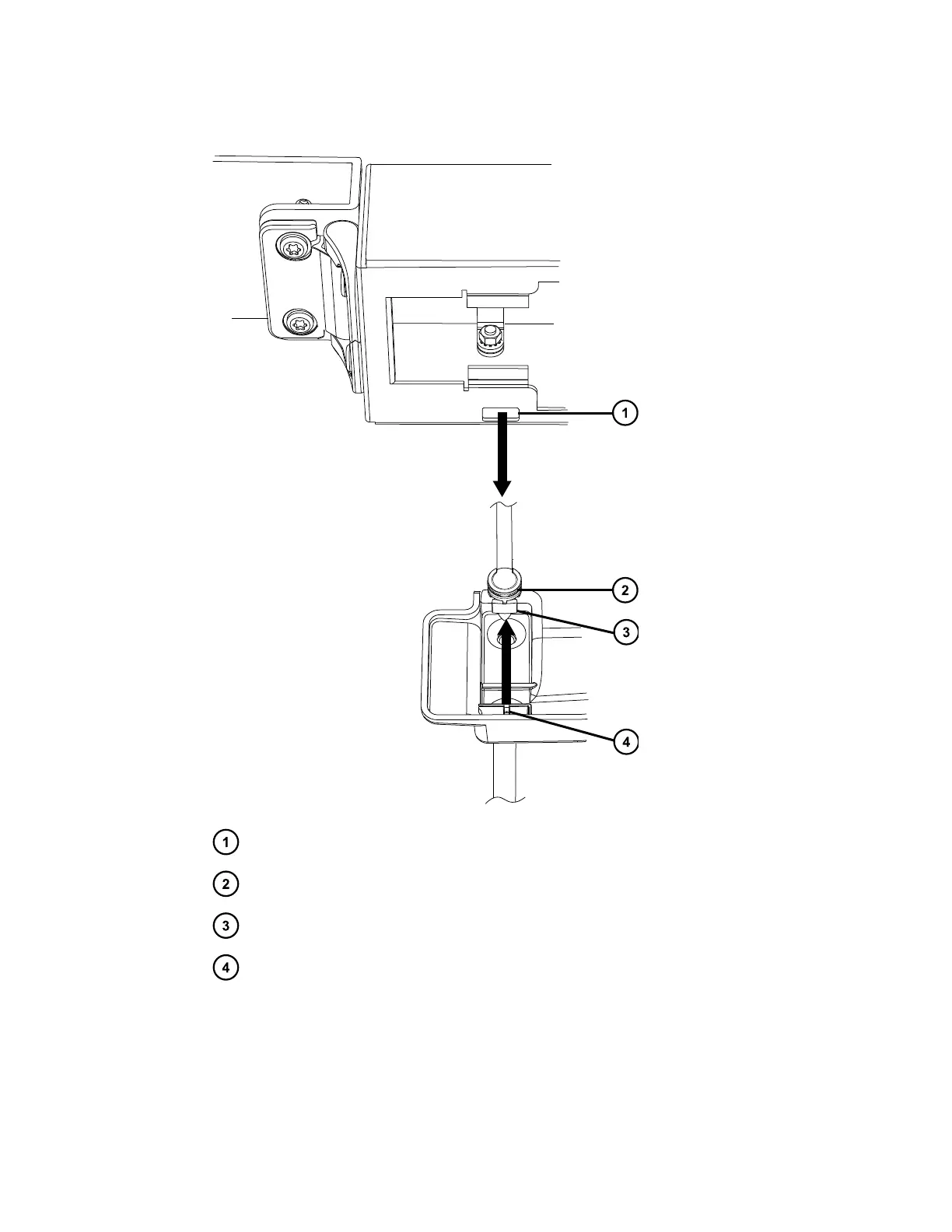
Figure 3–4: Leak sensor in MS-bracket drip tray
Removing leak-sensor cable from slot in column-heater housing
Leak-sensor serrations
Leak-sensor T-bar
Slot in leak-sensor reservoir
12. Remove the leak-sensor cable from the slot in the column-heater housing.
13. Grasp the leak sensor by its serrations, and pull upward on it, to remove it from its
reservoir.
14. Set aside the leak-sensor assembly for discarding.
December 4, 2019, 715005052 Version 02 (previously released as Rev.B)
Page 73

Table of Contents

Related product manuals