EasyManua.ls Logo

WEIHONG LS6000M - MAX Fiber Laser

Default Icon
121 pages
To Next Page IconTo Next Page
To Next Page IconTo Next Page
To Previous Page IconTo Previous Page
To Previous Page IconTo Previous Page
Loading...
上海维宏电子科技股份有限公司
SHANGHAI WEIHONG ELECTRONIC TECHNOLOGY CO., LTD.
66 / 116
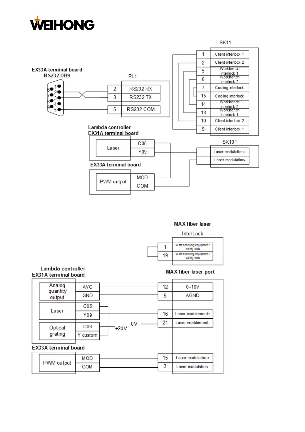
5.2.5 MAX Fiber Laser
The wiring diagram is shown below:

Table of Contents

Related product manuals