EasyManua.ls Logo

Witt GP 42 - Dimensions of GP 51, GP 51 a, and GP 52 Pumps

Witt GP 42
39 pages
Print Icon
To Next Page IconTo Next Page
To Next Page IconTo Next Page
To Previous Page IconTo Previous Page
To Previous Page IconTo Previous Page
Loading...
14
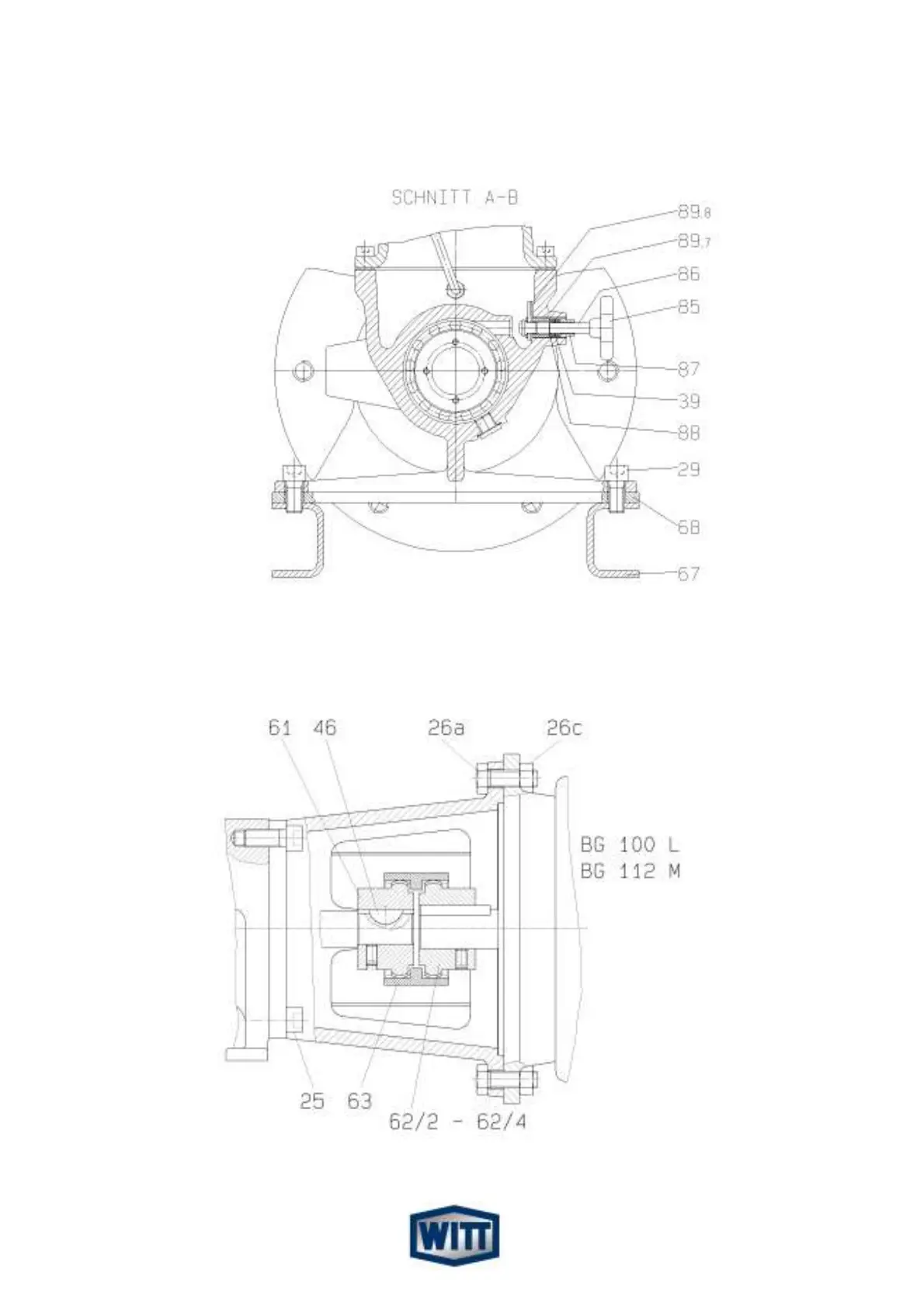
Р
АЗРЕЗ ПО ПОДШИПНИКАМ
S
ECTIONAL
V
IEW OF DETAILS
Ф
ИГ
. 3
B
D
ETAIL OF THE BEARING
М
УФТА И КОЖУХ В РАЗРЕЗЕ
Ф
ИГ
. 3
C
D
ETAIL COUPLING AND MOTOR CONNECTION

Table of Contents

Other manuals for Witt GP 42

Related product manuals