EasyManua.ls Logo

WITTUR MIDI - Wittur Programming Tool Interface Software Description; 11.2 Connecting the Wittur Programming Tool to the WHD SUPRA-electronic

WITTUR MIDI
32 pages
Print Icon
To Next Page IconTo Next Page
To Next Page IconTo Next Page
To Previous Page IconTo Previous Page
To Previous Page IconTo Previous Page
Loading...
Door Drive
MIDI / SUPRA
Operating instructions
Blatt/
sheet
D823MGB.019
Datum/
date
01.03.2004
Stand/
version
B-18.12.2008
Geprüft/
approved
WAT/MZE
EXCELLENCE IN COMPONENTS
Änderungen vorbehalten! Subject to change without notice!
Valid for software revision starting from
„WHD SUPRA Vx.x, dd.mm.jjjj“
11.1 Introduction
The WHD- MIDI / SUPRA-electronic is equipped
with a serial communication interface RS 485 to
watch/modify data stored in the electronic. Some
data (for example the speed values) are stored in a
memory which is independent from power supply,
this memory is called EEPROM. For use of the
Wittur programming Tool see Operating instruc-
tions D276Mxx.
Wrong adjustments may damage the door
mechanic.
11.2 Connecting the
Wittur Programming Tool
to the WHD SUPRA-electronic
The Programming Tool can be connected directly
to the WHD MIDI / SUPRA board at the plug X8,
there are no further adjustments are neccessary.
Switch off the WPT before conecting to door drive.
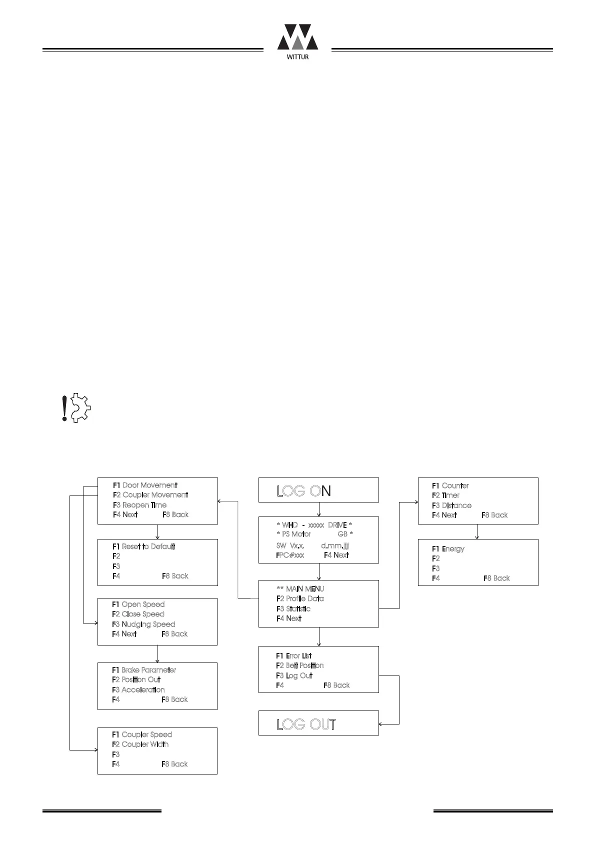
11 Wittur Programming Tool Interface Software description
LOGON
LOGOUT
F1DoorMovement
F2CouplerMovement
F3ReopenTime
F4NextF8Back
**MAINMENU
F1ErrorList
F2ProfileData
F2BeltPosition
F3Statistic
F3LogOut
F4Next
F4F8Back
F1BrakeParameter
F1CouplerSpeed
F1Energy
F2PositionOut
F2CouplerWidth
F2
F3Acceleration
F3
F3
F4F8Back
F4F8Back
F4F8Back
F1OpenSpeed
F1Counter
F2CloseSpeed
F2Timer
F3NudgingSpeed
F3Distance
F4NextF8Back
F4NextF8Back
*WHD-xxxxxDRIVE*
SWVx.x,d.mm.jjjj
*PSMotorGB*
FPC#xxx
F4Next
11.4.2
11.4.2
11.4.3
11.4.6
11.4.7
11.4.1
11.4.1
11.4.1
11.4.8
11.4.4
11.4.5
F1ResettoDefault
F2
F3
F4F8Back
11.3 Menu structure of Programming Tool

Related product manuals