EasyManua.ls Logo

3M 40800 - Page 86

3M 40800
146 pages
To Next Page IconTo Next Page
To Next Page IconTo Next Page
To Previous Page IconTo Previous Page
To Previous Page IconTo Previous Page
Loading...
74
2010 January
700rks-NA
700rks
46
8
45
47
40
41
15
50
49
44
48
37
42
38
38
5
5
3
28
32
34
13
43
4
2
21
1
20
31
37
38
48
19
29
23
24
20
39
30
12
11
27
16 =
15
22
18
40 *
18
26
41 *
42 *
35
8
5
36
33
14
13
6
10
9
13
46
36
5
1
4
47
23
22
17
7
17 + 18 + 19
20 + 21
45
18
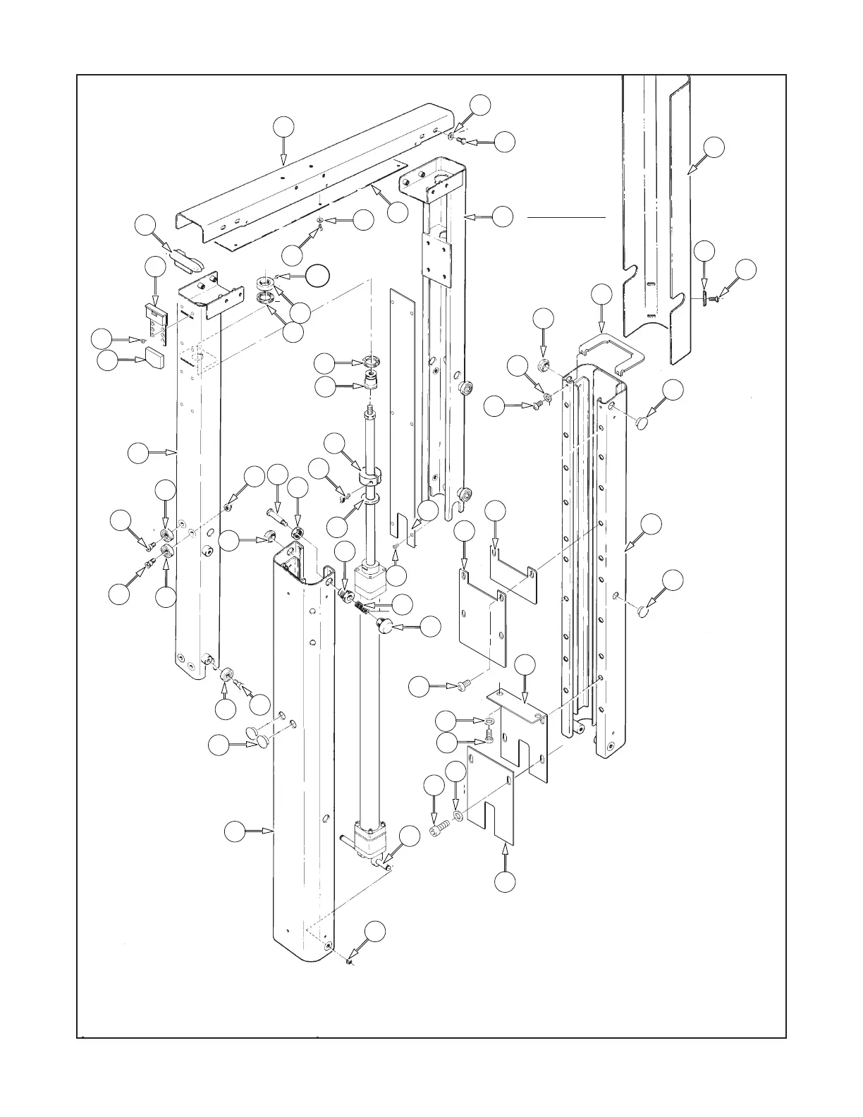
* NOTE - IMPORTANT: Parts #40 & 41 are for "NORMAL" Position.
Remove #40 & 41 and replace with #42 when Column is in "RAISED" Position.
18
44
* NOTE - IMPORTANT:
- Parts #40 & 41 are for
"NORMAL" Position.
For "RAISED" Position,
Remove #40 & 41 and
Replace with #42.
Figure 15266
25
* NOTE - IMPORTANT: - Some bumper positions may:
1) Allow upper and lower taping heads to come into
contact with each other.
2) Create added stress to the bumper.
3) Cause a malfunction of the machine.
These events can potentially cause damage to the machine.
For more information on bumper settings, contact your 3M
service representative.

Table of Contents

Related product manuals