EasyManua.ls Logo

AA4C AA-2PFP45 - Page 26

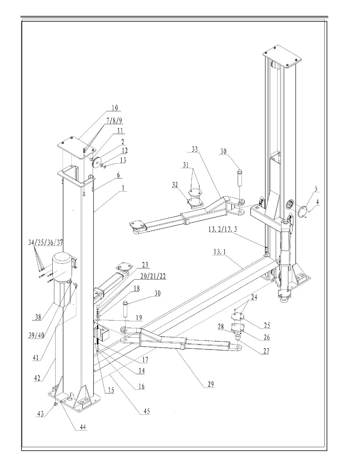
AA4C AA-2PFP45
30 pages
Print Icon
To Next Page IconTo Next Page
To Next Page IconTo Next Page
To Previous Page IconTo Previous Page
To Previous Page IconTo Previous Page
Loading...
USER’S MANUAL
-23-