EasyManua.ls Logo

Agria 400E - Specialized Attachment Details

Agria 400E
68 pages
Print Icon
To Next Page IconTo Next Page
To Next Page IconTo Next Page
To Previous Page IconTo Previous Page
To Previous Page IconTo Previous Page
Loading...
38 agria Multi-Purpose Machine 400E/400K
3. Devices and Operating Elements
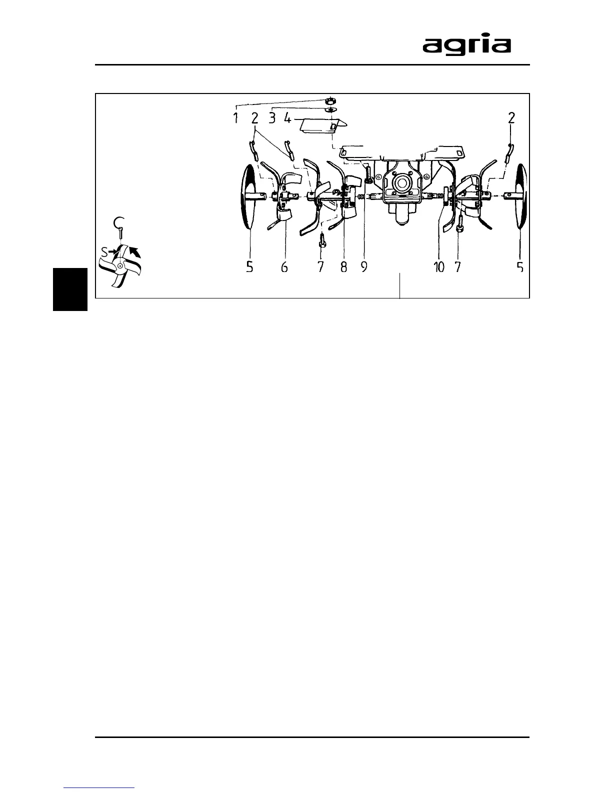
Hoe blades
Example: hoeing width 45 cmExample: hoeing width 65 cm
Hoeing width:
Standard sets of blades
approx. ...................................... 45 cm
Standard and add-on sets of blades
approx. ...................................... 65 cm
Fitting the blade sets
W
Only fit/remove the sets of
blades while the engine is
switched off and the spark-plug
connector is removed! Wear safety
gloves!
45 cm hoeing width:
l
Fit one set of blades (8+10) on each
end of the rotor shaft. Ensure that the
blades point into travel direction. When
fitting a second set of blades (either on
the left or right side), make sure the
blades which point to the case are fitted
in a staggered way to the respective
blades on the other side of the case.
l
Bolt down sets of blades with hex
bolts (7) through the borings of the
hub/rotor shaft.
65 cm hoeing width:
l
To fit the standard sets of blades, fol-
low the instructions for a 45 cm cultivat-
ing width.
l
Fit the add-on sets of blades (acces-
sory No. 1008 111) (6) in the hubs of
the standard sets.
l
Insert linch pins (2) in hub/shaft
borings to secure them,
l
Bolt down (9,3 +1) the guards (4).
Guard discs
The discs are to prevent trees, shrubs
and bushes from being damaged by the
hoe and to prevent young plants from
being covered with soil. In addition, they
offer protection for the operator, when
hoeing along headlands or fences.
l
Fit the discs (5) in the hubs of the
blade sets.
l
Fasten with linch pin (2) through
hub/shaft borings.
1 Hex nut
2 Linch pin
3 Star washer
4 Extra guard
5 Guard discs
6 Add-on blade set
7 Hex bolt
8 Basic set of hoe blades,right
9 Countersunk bolt
10 Basic set of hoe blades,right
S = cutting edge
3

Related product manuals