EasyManua.ls Logo

Ametek 900 - RUN; CFG Mode - F5 Commands

Ametek 900
256 pages
Print Icon
To Next Page IconTo Next Page
To Next Page IconTo Next Page
To Previous Page IconTo Previous Page
To Previous Page IconTo Previous Page
Loading...
Overview | 1-7
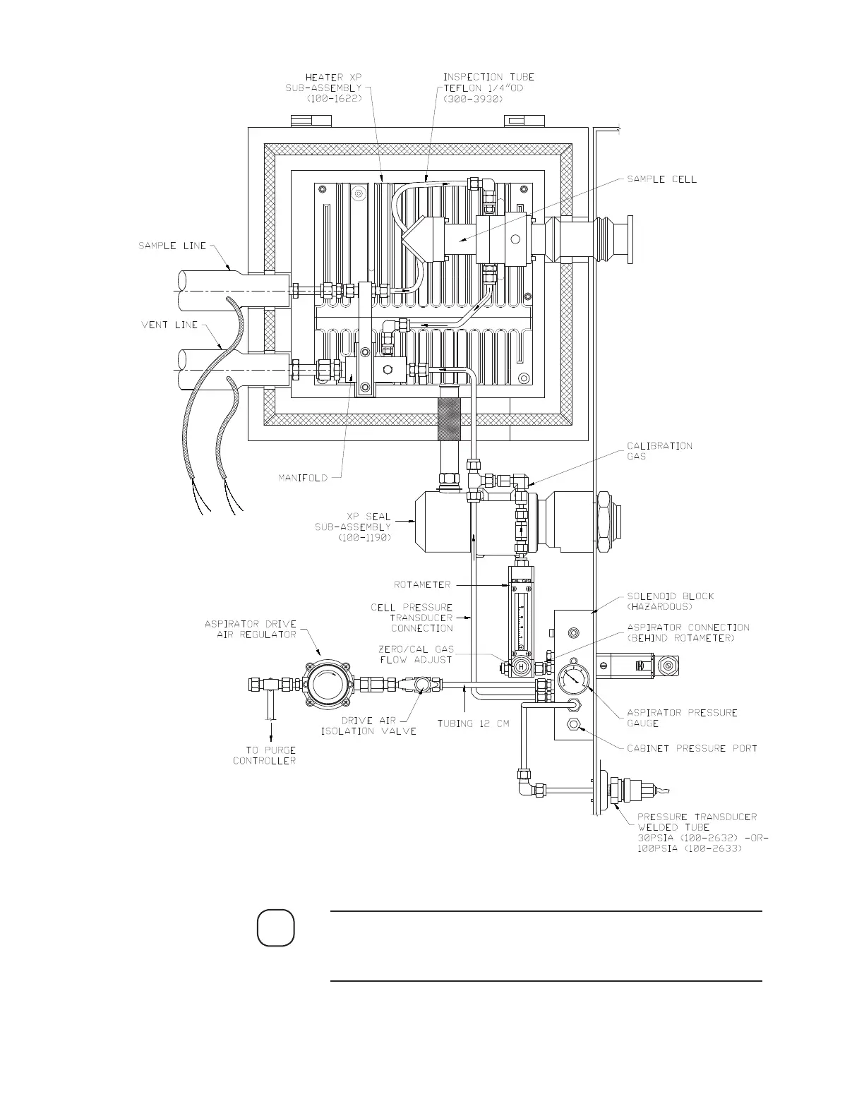
Figure 1-3 illustrates a typical Oven/Instrumentation layout for
Div 2/Zone 1 analyzers. For your system, refer to Final “As Built”
drawings in the analyzer Documentation Package.
NOTE
Figure 1-3.
Oven/Instrumentation
layout (Div 2/Zone 1).

Table of Contents

Related product manuals