EasyManua.ls Logo

AOR AR5000 - 8-3 SCANNING a memory bank; 8-4 Selecting a single memory bank to scan

AOR AR5000
77 pages
Print Icon
To Next Page IconTo Next Page
To Next Page IconTo Next Page
To Previous Page IconTo Previous Page
To Previous Page IconTo Previous Page
Loading...
PAGE 38 AR5000 OPERATING MANUAL
Limitations of SCAN mode
Should a number of different modes and wide range of
frequencies be used, then the SCAN process may be
affected by noise or differences in squelch characteristic
on some frequencies and modes.
To help provide the best operation of SCAN, additional
facilities have been provided should you listen to noisy
frequencies or bands containing carriers, make liberal use
of the AUDIO and PAUSE scan parameters.
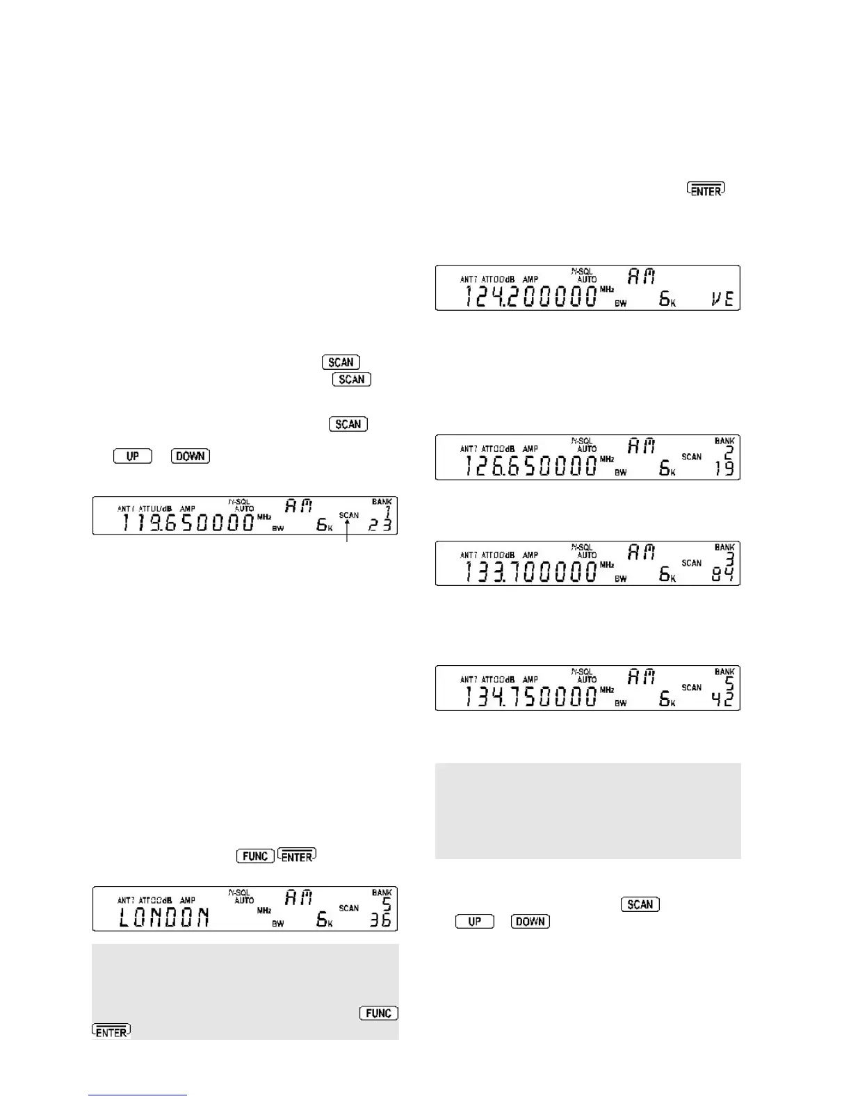
8-3 SCANNING a memory bank
Let’s assume that you wish to SCAN the contents of
memory bank “1” (channels 00 ~ 99) which you have been
previously stored with memory data.
There are two ways to start scanning:
1) From
VFO
or
SEARCH
modes press
to
enter
MEMORY RECALL
mode then press
again to start scanning.
2) From
MEMORY RECALL
mode press once
only to start scanning. Alternatively press and hold either
the
or
key for more than one second to
start scanning while in MEMORY RECALL mode.
The “SCAN” legend appears on the LCD to confirm
selection and the AR5000 will start scanning through
memory channels providing they contain data, are not
locked out (PASS), the squelch control is
CLOSED
and
the channel is not busy. ALL MEMORY CHANNELS
WHICH CONTAIN DATA in the current memory bank will
be SCANNED irrespective of mode and frequency. ANY
BLANK (empty) MEMORY CHANNELS which contain no
data will be ignored (skipped).
The memory bank identifier (such as “1”) will be displayed
on the top right of the LCD under the legend “BANK” and
the memory channels displayed
When an
active
channel has been located (busy so the
squelch opens) the scan process will temporarily halt on
the active channel and the full memory location (such as
103”) will become static on the right of the LCD with the
active frequency displayed to the left.
It is possible to swap between FREQUENCY display and
TEXT display by pressing
(providing text
has been stored in the memory channels).
Note: If text has not been stored in the memory channels
and TEXT DISPLAY has been selected, the AR5000 will
halt on busy channels but no frequency or text will be
displayed... this can be confusing at first. To restore the
frequency display under this condition simply press
Finally when the channel becomes clear again (the signal
disappears and squelch closes), the receiver will wait for
an additional two seconds (initial default) to allow for a
reply on the channel before resuming the scanning
process.
Transfer of memory channel to VFO-E
When stopped on an active channel, press
to
transfer the memory data (frequency, mode, step,
attenuator etc) to VFO-E where you may tune away from
the channel or listen to it indefinitely until you decide
otherwise.
8-4 Selecting a single memory bank to scan
The memory bank which is currently being scanned will
be displayed in the top right of the LCD under the legend
BANK” (for example “2”) and channel number will be
changing underneath.
Should you wish to scan a different memory bank rotate
the SUB DIAL.
For example, to select memory bank “5” while currently
scanning bank “3” rotate the SUB DIAL clockwise until the
bank legend “5” is displayed... empty memory banks will
be skipped.
Memory bank “5” will be scanned with channel numbers
changing.
Note: As a short cut it
is
possible to change bank number
using the numeric keypad, however if an empty memory
bank is selected, the SCAN process will be terminated
and MEMORY RECALL mode will be entered. Only use
the keypad short cut if you
know
the bank contains
memory data.
Alternatively
to activate SCAN of a specific bank, you
may FIRST select the desired bank in memory recall mode
then activate SCAN by pressing the
key or pressing
the
or
key for more than one second.

Table of Contents

Other manuals for AOR AR5000

Related product manuals