EasyManua.ls Logo

AOR AR5000 - 12-8 Deleting PROGRAM SEARCH BANKS; 12-9 SEARCH - outline introduction to additional facilities available

AOR AR5000
77 pages
Print Icon
To Next Page IconTo Next Page
To Next Page IconTo Next Page
To Previous Page IconTo Previous Page
To Previous Page IconTo Previous Page
Loading...
AR5000 OPERATING MANUAL PAGE 53
search bank is desired then override the current aerial
selection by pressing
to
select automatic aerial switching... of course ANT 1, ANT
2, ANT 3 or ANT 4 may be selected using this menu
(don’t use
, use the SUB DIAL instead).
Text display: To toggle the FREQUENCY / TEXT display
while in memory recall, scan and search modes press
followed by a brief press of the key.
To start searching program search bank 05 (or whatever
bank was last selected) simply press
(providing
you haven’t set up the search bank link in any specific
way to prevent searching of bank 05). To change search
bank, rotate the SUB DIAL or key in the two digit search
bank number if known (providing it contains data).
12-8 Deleting PROGRAM SEARCH
BANKS
Although you may overwrite program search banks
and omit them from search groups through the use of
BANK-LINK, it is also possible to DELETE all the data
from a specific bank. This may make reprogramming
new data into the bank more straight forward and may be
useful should a corruption occur.
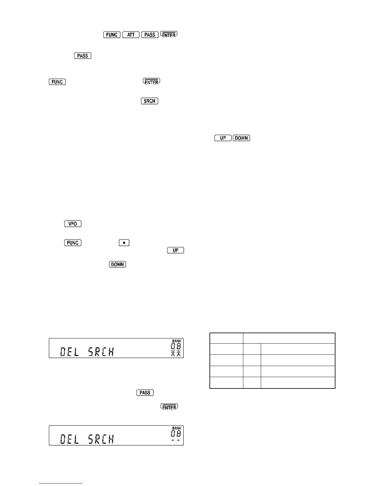
Example of deleting program search bank - “08
Press
to place the receiver into a known state of
operation.
Press
then press the
key for more than one
second to access the DELETE menu. Press the
key three times to access the “DEL SRCH” menu
(or you could press the
key twice to get to the
same place).
DEL MEM-CH
DEL SEL-CH
DEL M-PASS
DEL SRCH <<<
DEL F-PASS
Rotate the SUB DIAL until “BANK 08” is displayed on the
right of the LCD.
If data is already programmed into this bank the legend “*
*” will be displayed, if no data is present the legend “- -
will be displayed.
Assuming that data is present, press
to delete the
contents, after about one or two seconds delay the legend
will change to “- -” to confirm deletion. Press
to
complete the sequence and return to VFO mode.
12-9 SEARCH - outline introduction to
additional facilities available
During program search, the AR5000 tunes to every
frequency between two specified frequency limits looking
for
active
interesting frequencies. When an
active
frequency is located (when a signal is found and the
squelch is open) the receiver will temporarily stop
searching.
At default when shipped from the factory, the AR5000
will remain on an active frequency until the received signal
disappears and the squelch closes. The AR5000 will then
wait an additional 2 seconds in case a reply is audible
(such as aircraft and air traffic communications) then will
resume searching.
If the
keys are pressed during search or
the MAIN DIAL rotated, the direction of search may be
reversed. This is particularly useful for taking a second
look at frequencies which have just been searched and
for forcing the search process onward passed unwanted
frequencies.
Additional facilities are available in PROGRAM
SEARCH mode:
Program search banks may be
LINKED
and
UNLINKED
to effectively make larger or smaller groups of program
search banks which may be searched in succession.
FREQUENCY PASS
may be used so that constantly
active frequencies can be skipped when not required, they
may be reinstated at a later time.
AUTO-MEMORY
makes special use of memory bank “0
so that active frequencies found while conducting a
SEARCH may be automatically written to memory (refer
to section 12-19 of this manual for further information).
This is a useful tool for compiling an activity list of rarely
used frequencies especially when unattended.
There are further parameters (in addition to BANK LINK,
PASS and AUTO-STORE) which may be changed to suit
your preferences and requirements. The list of search
defaults is shown below:
Search type Comment
PAUSE OFF OFF and 1 ~ 60 seconds
DELAY 2.0s OFF and 0.1 ~ 9.9 seconds
L-SQ OFF OFF and 1 ~ 255
VOICE OFF OFF and 1 ~ 255 (*)
For further information refer to the detailed information
starting at section 12-13 of this manual.

Table of Contents

Other manuals for AOR AR5000

Related product manuals