EasyManua.ls Logo

AOR AR5000 - 9-2 SCAN - DELAY; 9-3 SCAN - LEVEL SQUELCH; 9-4 SCAN - VOICE

AOR AR5000
77 pages
Print Icon
To Next Page IconTo Next Page
To Next Page IconTo Next Page
To Previous Page IconTo Previous Page
To Previous Page IconTo Previous Page
Loading...
PAGE 42 AR5000 OPERATING MANUAL
9-2 SCAN - DELAY
The scan DELAY parameter affects the time the AR5000
will remain on an active channel in scan mode once the
received signal has disappeared and the squelch closed.
This is particularly useful for customising how long the
receiver will wait for a reply before continuing to scan.
For example, when communications are passed back and
forth between a control tower / aircraft which may take a
few seconds. If you are scanning duplex channels then a
small delay or no delay at all may be preferable.
The limits are OFF and 0.1 to 9.9 seconds (default
2.0 seconds).
Press
to access the BANK LINK menu.
Use the
keys to locate the “DELAY 2.0
selection.
PAUSE OFF
DELAY 2.0 <<<
L-SQ OFF
VOICE OFF
MODE ALL
Either use the MAIN DIAL or SUB DIAL to change the value.
The
key may be used as a short cut toggle between
OFF and the default of 2.0 seconds.
To accept the changes to DELAY scan press
to
return to normal display (SCAN, SEARCH or VFO mode).
Alternatively you may move to the next option (LEVEL
SQUELCH SCAN) by pressing the
key.
9-3 SCAN - LEVEL SQUELCH
The scan LEVEL SQUELCH parameter causes the
receiver to check the signal strength of
active
channels
and to only stop when the signal strength is above a
predetermined level which is programmable in 256 steps.
The limits are OFF and 1 to 255 levels (default OFF).
Press
to access the BANK LINK menu.
Use the
keys to locate the “L-SQ OFF
selection.
PAUSE OFF
DELAY 2.0
L-SQ OFF <<<
VOICE OFF
MODE ALL
Either use the MAIN DIAL or SUB DIAL to change the value.
The
key may be used as a short cut to OFF.
If the is used to select OFF, use of the MAIN DIAL
and SUB DIAL afterwards will result in the value continuing
from whatever was last selected, this speeds up the
selection process. In fact the
key may be used as
a toggle between OFF and the new setting.
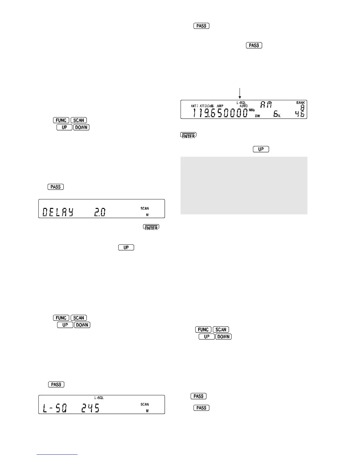
While in memory recall or scan mode, the LCD legend
N-SQL” for noise squelch (normal operation) is replaced
by the legend “L-SQL” to indicate that level squelch is in
operation.
To accept the changes to scan LEVEL SQUELCH press
to return to normal display (SCAN, SEARCH or
VFO mode). Alternatively you may move to the next option
(VOICE SCAN) by pressing the
key.
Note: It is possible that false signal levels may upset the
operation of scan LEVEL SQUELCH due to local noise
or the close proximity of computer systems. Number 1
instructs the AR5000 to react to very weak signals while a
higher number of 255 instructs the system to react ONLY
to strong signals. Experimentation will be necessary with
different types of signal to find the best setting for specific
requirements... the lower level settings may not be usable
when high noise is present.
9-4 SCAN - VOICE
The scan VOICE parameter determines the way in which
an
active
channel is determined by sampling the audio
modulation. When the VOICE scan facility is enabled,
the scan process will only stop on active channels which
have modulation (such as voice) present. The AR5000
will not remain on unmodulated channels (such as blank
carriers).
You may find this facility useful for skipping over STRONG
signals but WEAKER noisy signals may
fool
the receiver
into thinking that modulation is present as will signals with
pilot tones or heterodynes present. Experimentation will
certainly be required with different types of signal. The
limits are OFF and 1 to 255 (default OFF).
Press
to access the BANK LINK menu.
Use the
keys to locate the “VOICE OFF
selection.
PAUSE OFF
DELAY 2.0
L-SQ OFF
VOICE OFF <<<
MODE ALL
Either use the MAIN DIAL or SUB DIAL to change the value.
The
key may be used as a short cut to OFF.
If the
is used to select OFF, use of the MAIN DIAL
and SUB DIAL afterwards will result in the value continuing
from whatever was last selected, this speeds up the

Table of Contents

Other manuals for AOR AR5000

Related product manuals