EasyManua.ls Logo

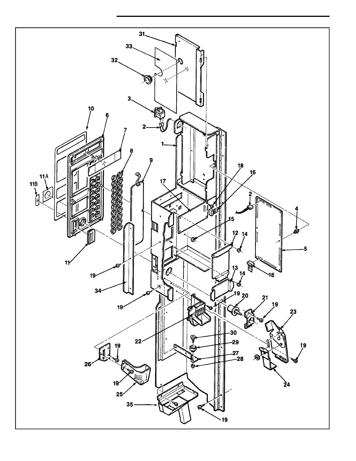
Automatic Products SNACKSHOP 113 - Swing-Out Panel Assembly

Automatic Products SNACKSHOP 113
57 pages
Print Icon
To Next Page IconTo Next Page
To Next Page IconTo Next Page
To Previous Page IconTo Previous Page
To Previous Page IconTo Previous Page
Loading...
swing out – panel assembly
21

Related product manuals