EasyManua.ls Logo

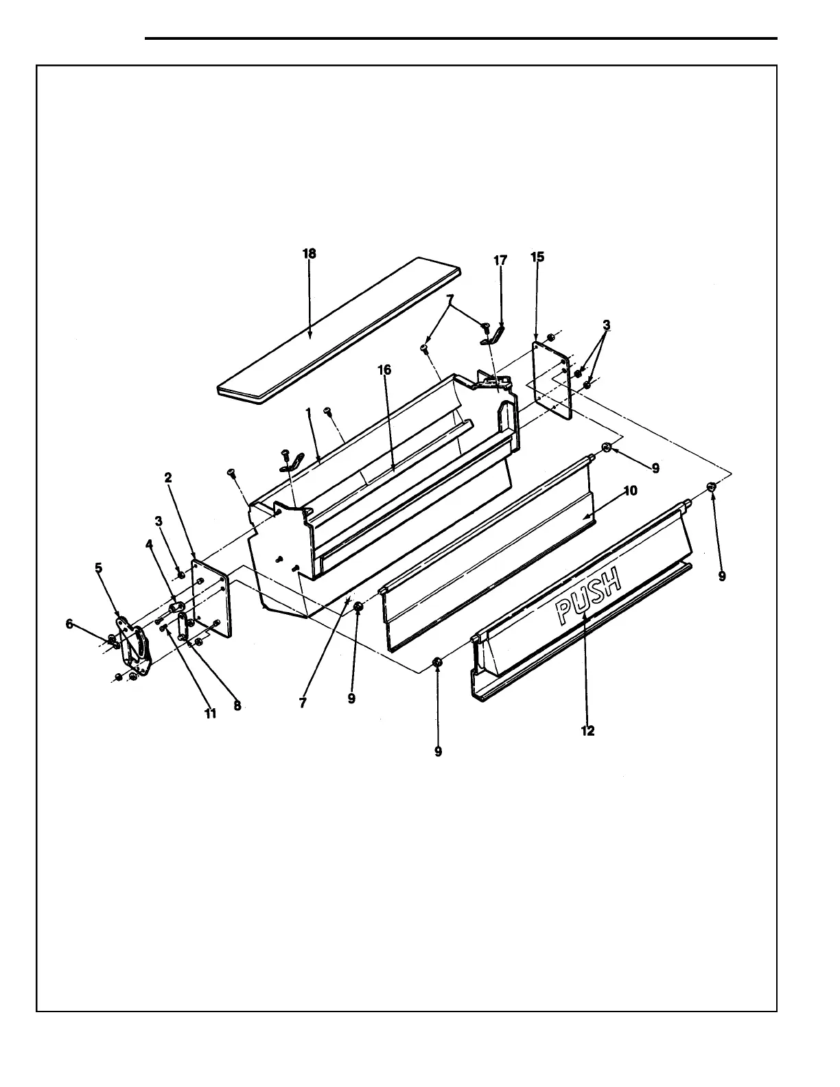
Automatic Products SNACKSHOP 113 - Delivery bin

Automatic Products SNACKSHOP 113
57 pages
Print Icon
To Next Page IconTo Next Page
To Next Page IconTo Next Page
To Previous Page IconTo Previous Page
To Previous Page IconTo Previous Page
Loading...
delivery bin
31

Related product manuals