EasyManua.ls Logo

Baelz Automatic BA 373-E45 - Page 35

Baelz Automatic BA 373-E45
36 pages
Print Icon
To Next Page IconTo Next Page
To Next Page IconTo Next Page
To Previous Page IconTo Previous Page
To Previous Page IconTo Previous Page
Loading...
BA_373-E45_05_DEF_MJ_2119
35 | 36W. Baelz & Sohn GmbH & Co. · Koepffstrasse 5 · 74076 Heilbronn · Germany · www.baelz.de Seite | Page
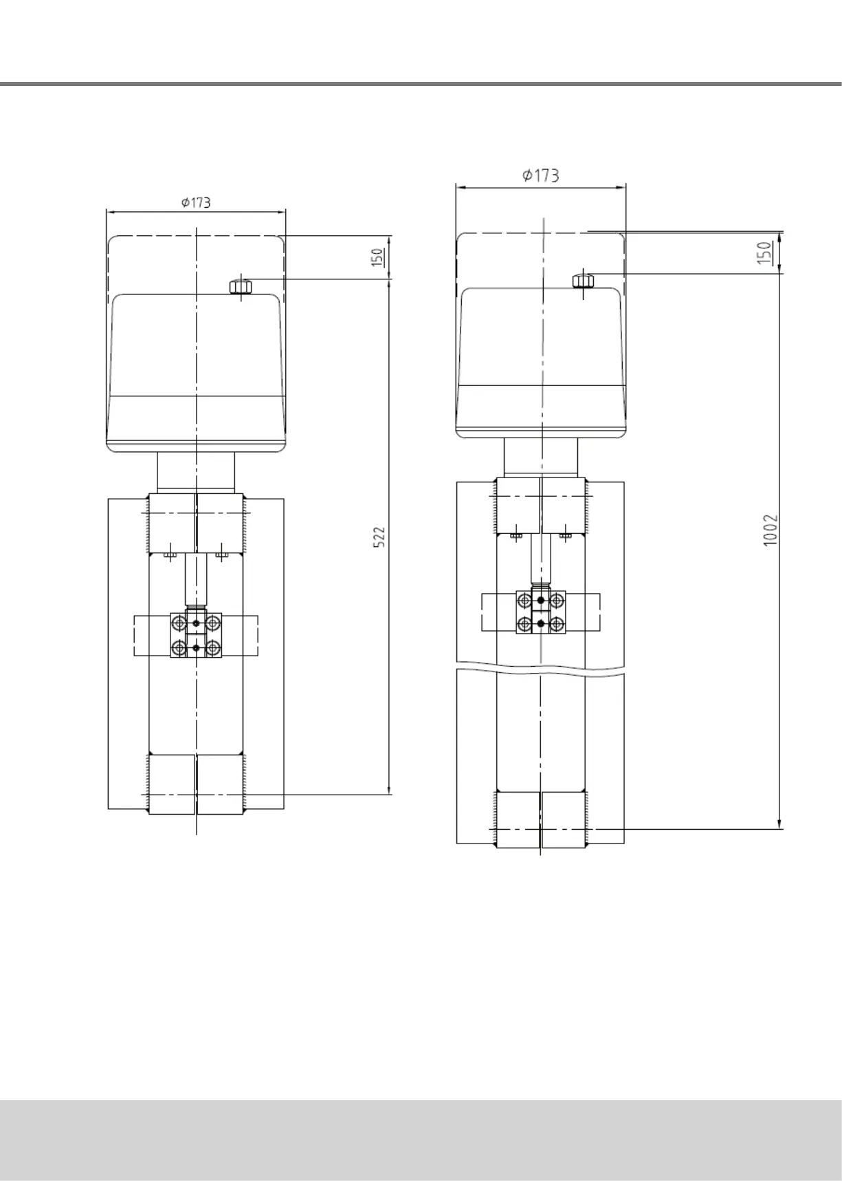
Motorized Linear Actuator baelz 373-E45
Fig. 14: Dimensional drawing
baelz E45 with S41 yoke
and spindle Ø 16 mm
Fig. 15: Dimensional drawing
baelz E45 with S41C yoke
and spindle Ø 16 mm

Table of Contents