EasyManua.ls Logo

Baoli CPCD 80 - Front Axle: Specifications and Troubleshooting

Default Icon
112 pages
Print Icon
To Next Page IconTo Next Page
To Next Page IconTo Next Page
To Previous Page IconTo Previous Page
To Previous Page IconTo Previous Page
Loading...
44
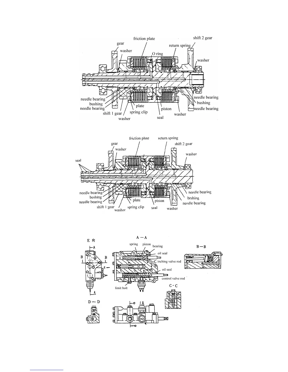
Fig.2.4 Forward shift clutch
Fig.2.5 Reverse shift clutch
Fig.2.6 Control valve

Table of Contents

Related product manuals