EasyManua.ls Logo

BendPak HD-7W - Parts Drawings

Default Icon
92 pages
Print Icon
To Next Page IconTo Next Page
To Next Page IconTo Next Page
To Previous Page IconTo Previous Page
To Previous Page IconTo Previous Page
Loading...
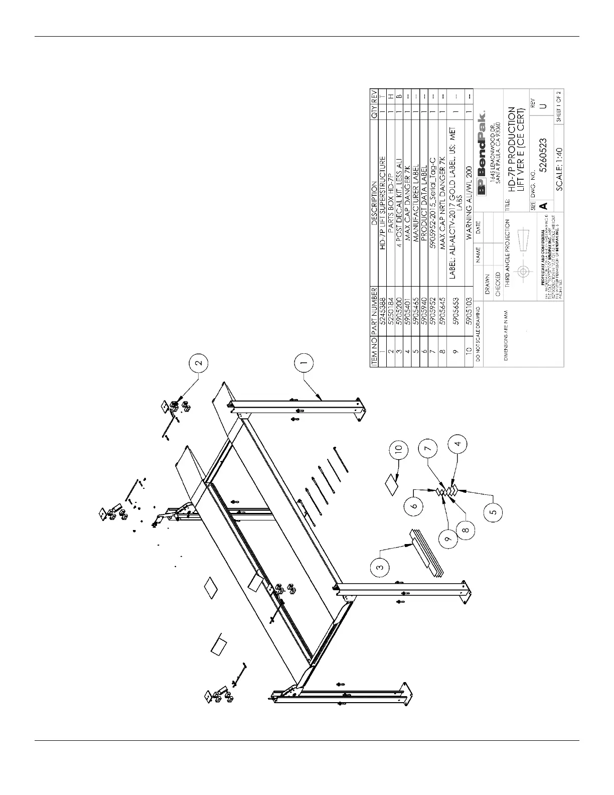
HD-7P / HD-7W Four-Post Lifts 82 P/N 5900041Rev. M July 2019
Parts Drawings

Other manuals for BendPak HD-7W

Related product manuals