EasyManua.ls Logo

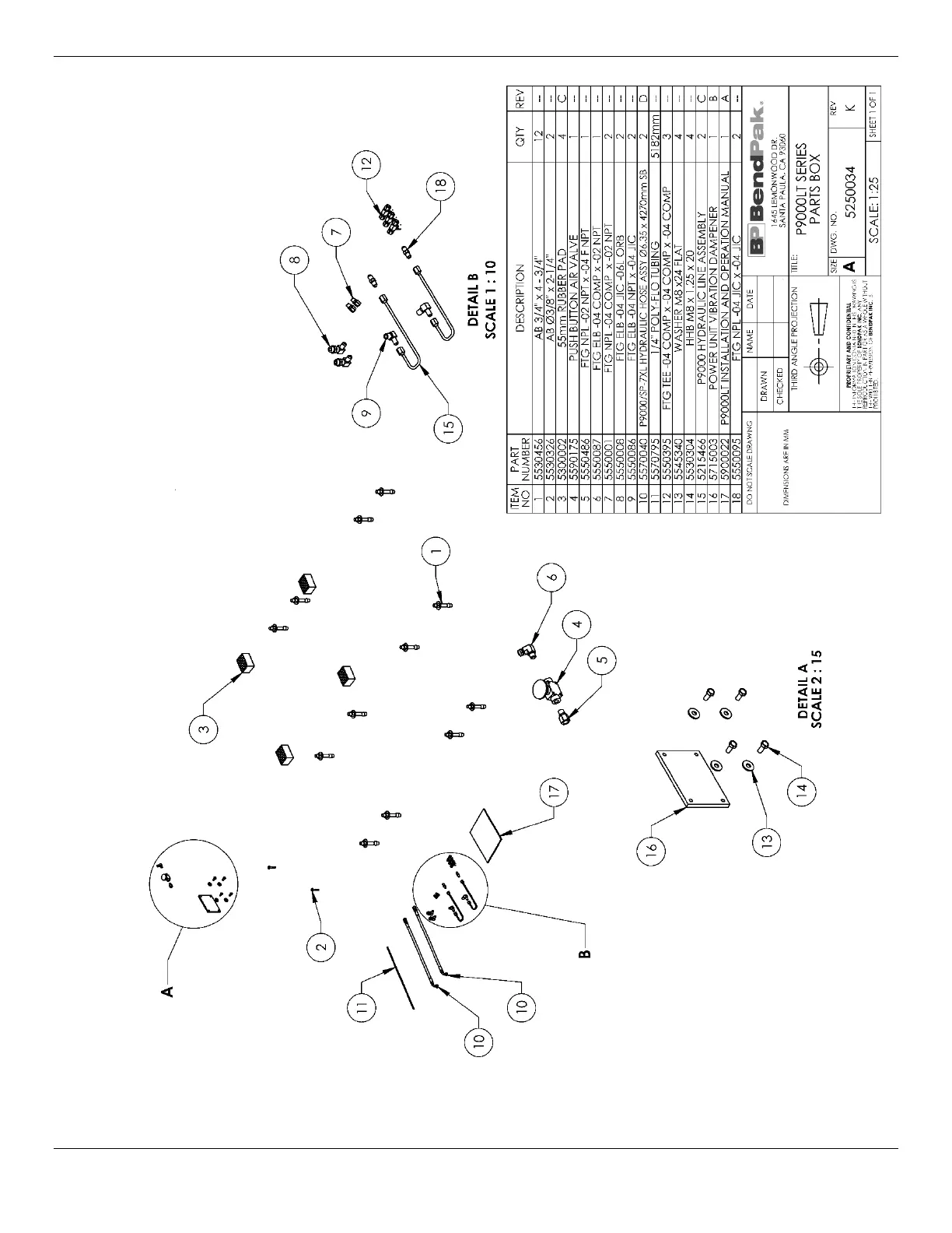
BendPak P-9000LT - Parts Box Contents

BendPak P-9000LT
64 pages
Print Icon
To Next Page IconTo Next Page
To Next Page IconTo Next Page
To Previous Page IconTo Previous Page
To Previous Page IconTo Previous Page
Loading...
P-9000LT/F Low-Rise Pit Lift 61 P/N 5900022Rev. B Nov. 2019

Related product manuals