EasyManua.ls Logo

BMW Z3 E37 1998 - Page 169

BMW Z3 E37 1998
347 pages
Print Icon
To Next Page IconTo Next Page
To Next Page IconTo Next Page
To Previous Page IconTo Previous Page
To Previous Page IconTo Previous Page
Loading...
paragon.myvnc.com
1
7 6
2
.35
VI/
WS
BMW
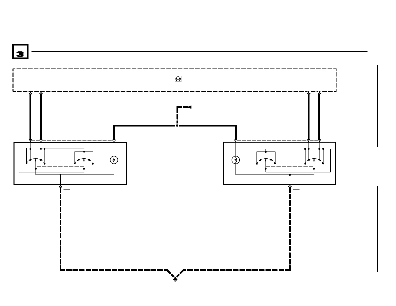
ZKE POWER WINDOWS (FH)
INPUT DETAILS
04/99
5133.0Ć
1998
01
4
4 X316
0
3
21
LIGHT SWITCH
DETAILS
6300.0
S126y
DRIVERS POWER
WINDOW SWITCH
0) OFF
1) OPEN WINDOW
2) CLOSE
WINDOW
3) OPEN AUTO.
4) CLOSE AUTO.
A104
BODY
ELECTRONICS
CONTROL MODULE
(ZKE IV)
.35 SW/WS
1
4
0
3
21
.5 GR/RT
3 X316
8 9 X13254
.35
BL/
GN
X324
4
4 X324
0
3
21
S127y
PASSENGERS
POWER WINDOW
SWITCH
0) OFF
1) OPEN WINDOW
2) CLOSE
WINDOW
3) OPEN AUTO.
4) CLOSE AUTO.
.35 WS/GN
2
4
0
3
21
.5 GR/RT
3
X494
GROUND
DISTRIBUTION
0670.4
GROUND
DISTRIBUTION
0670.4
BM
BMW
BMWBMW
Z3

Related product manuals