EasyManua.ls Logo

Bosch HP270-2 - Parameters Overview in Main and Sub Menu of HP270-2

Bosch HP270-2
56 pages
Print Icon
To Next Page IconTo Next Page
To Next Page IconTo Next Page
To Previous Page IconTo Previous Page
To Previous Page IconTo Previous Page
Loading...
Page 6 from 56 6-720-821-364 SM HP270 250 - 200 2016/12 en
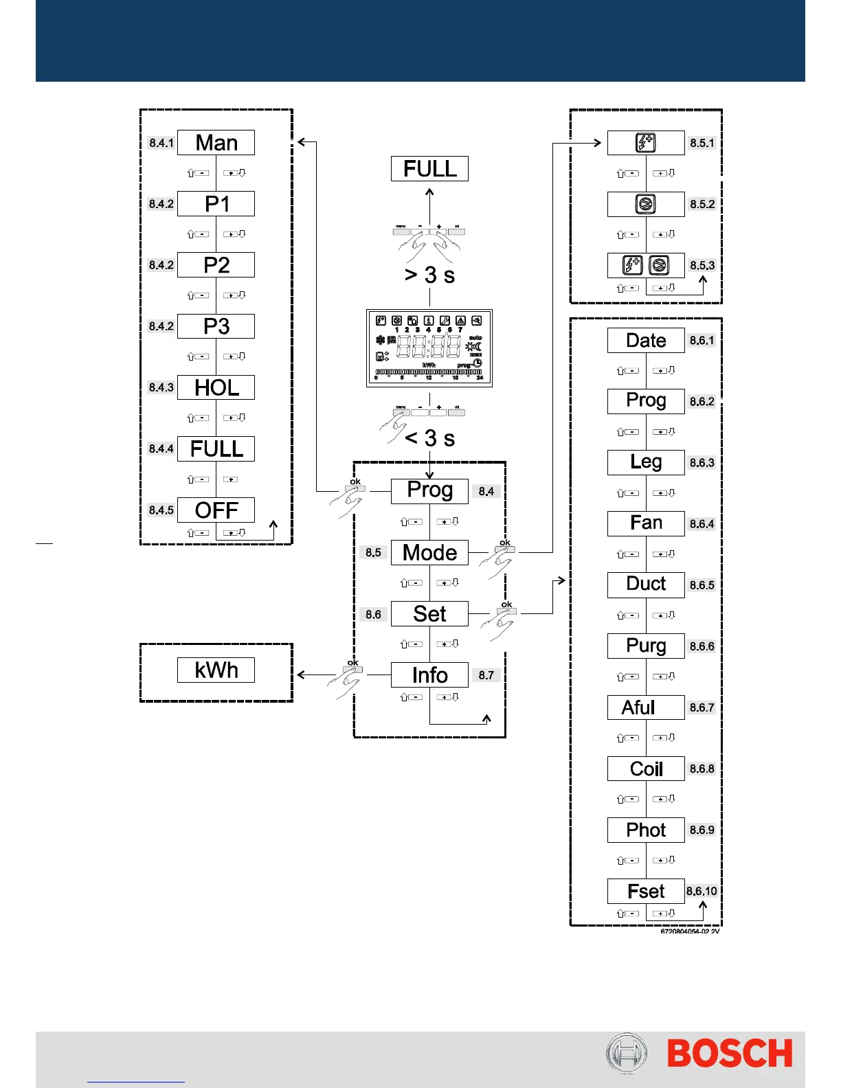
Pict.2 Parameters overview in main and sub menu of HP270-2

Table of Contents

Related product manuals